授权公布号:CN206146790U
一种振动式粘度计
有效
申请
2016-09-29
申请公布
1970-01-01
授权
2017-05-03
预估到期
2026-09-29
| 申请号 | CN201621093334.9 |
| 申请日 | 2016-09-29 |
| 授权公布号 | CN206146790U |
| 授权公告日 | 2017-05-03 |
| 分类号 | G01N11/16 |
| 分类 | 测量;测试; |
| 申请人名称 | 北京世通科创技术有限公司 |
| 申请人地址 | 北京市通州区潞城镇后北营村村委会西300米 |
专利法律状态
2017-05-03
授权
状态信息
授权
摘要
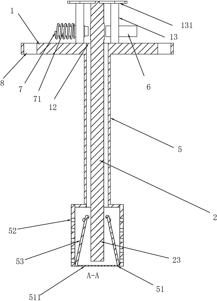
一种振动式粘度计,包括固定盘和穿设于固定盘上的能量传递杆,所述能量传递杆的端部设有探头,所述能量传递杆上套设有探头保护罩,所述探头保护罩的下端设有开口,其特征在于:所述探头保护罩的周面开有若干过滤孔,所述探头保护罩的内侧下端向上设有与过滤孔相对应的凸缘,所述凸缘向探头方向倾斜,所述凸缘与探头保护罩的上端之间设有可供液体进出的缝隙。这样一方面可以保证外界的液体能够从过滤孔中进入探头保护罩内,使得探头保护罩内的液体与外界的液体能够处于均匀状态,另一方面凸缘可以对液体起到缓冲的作用,降低了探头保护罩的内外液体在混合的过程中对探头的检测反馈造成影响。


