授权公布号:CN206146786U
长度可调节的旋转式在线粘度计
有效
申请
2016-10-12
申请公布
1970-01-01
授权
2017-05-03
预估到期
2026-10-12
| 申请号 | CN201621117810.6 |
| 申请日 | 2016-10-12 |
| 授权公布号 | CN206146786U |
| 授权公告日 | 2017-05-03 |
| 分类号 | G01N11/14 |
| 分类 | 测量;测试; |
| 申请人名称 | 北京世通科创技术有限公司 |
| 申请人地址 | 北京市通州区潞城镇后北营村村委会西300米 |
专利法律状态
2017-05-03
授权
状态信息
授权
摘要
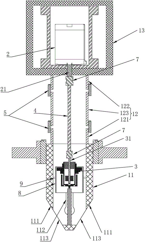
一种长度可调节的旋转式在线粘度计,包括外壳,外壳包括外壳前端、外壳尾端和外壳中段,外壳中段焊接于外壳前端、外壳尾端的中间,且外壳前端、外壳中段、外壳尾端内部相通,外壳尾端内部设有步进电机,步进电机的驱动轴伸入外壳中段内,外壳前端内设有测矩装置,测距装置内伸出一根与所述驱动轴同轴的旋转轴,所述外壳中段包括一端固定于外壳前端端部的壳体一,还包括一端固定于外壳尾端端部的壳体二,壳体一与壳体二之间可拆卸地固定有壳体三;所述驱动轴与旋转轴之间可拆卸地固定有一根中间轴。本实用新型的目的在于提供一种长度可调节的旋转式在线粘度计,具有方便更换壳体部件、联轴部件以调节长度的优点。


