授权公布号:CN206146787U
旋转式在线粘度计的磁力传动罩
有效
申请
2016-10-12
申请公布
1970-01-01
授权
2017-05-03
预估到期
2026-10-12
| 申请号 | CN201621117812.5 |
| 申请日 | 2016-10-12 |
| 授权公布号 | CN206146787U |
| 授权公告日 | 2017-05-03 |
| 分类号 | G01N11/14 |
| 分类 | 测量;测试; |
| 申请人名称 | 北京世通科创技术有限公司 |
| 申请人地址 | 北京市通州区潞城镇后北营村村委会西300米 |
专利法律状态
2017-05-03
授权
状态信息
授权
摘要
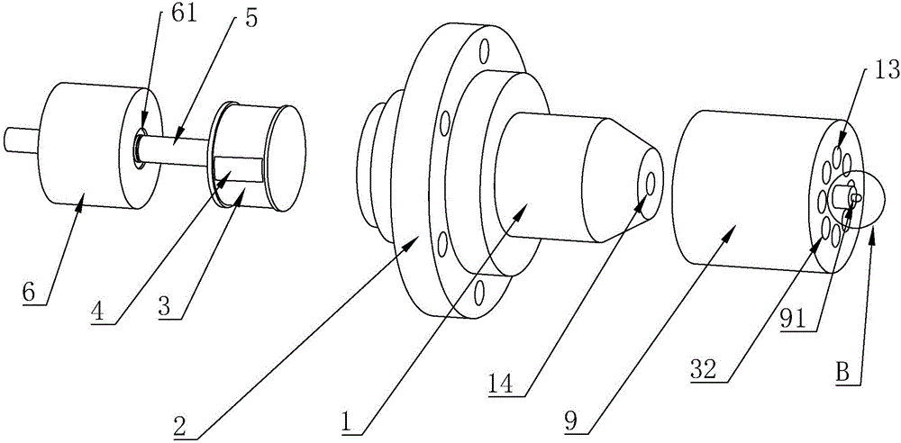
一种旋转式在线粘度计的磁力传动罩,包括圆筒状的罩体,罩体一端开口,另一端封闭,所述罩体内设有圆柱形的辊子,辊子侧面对称地设有两片磁钢一,辊子中央固定设有旋转轴,罩体开口端设有圆柱体形状的塞子,旋转轴的另一端插入塞子中央,塞子中央设有可供旋转轴插入的通孔,通孔的两端均设有与旋转轴配合的轴承一,所述罩体的封闭端中央设有轴承二,轴承二上可旋转地设有一个旋转罩,旋转罩套于罩体封闭的一端上,旋转罩内壁两侧对称地设有两片磁钢二。本实用新型的目的在于提供一种旋转式在线粘度计的磁力传动罩,可将粘度计的测扭矩机构与液体隔离,具有防水液腐蚀、锈蚀的优点。


