授权公布号:CN206146788U
旋转式在线粘度计
有效
申请
2016-10-12
申请公布
1970-01-01
授权
2017-05-03
预估到期
2026-10-12
| 申请号 | CN201621118811.2 |
| 申请日 | 2016-10-12 |
| 授权公布号 | CN206146788U |
| 授权公告日 | 2017-05-03 |
| 分类号 | G01N11/14 |
| 分类 | 测量;测试; |
| 申请人名称 | 北京世通科创技术有限公司 |
| 申请人地址 | 北京市通州区潞城镇后北营村村委会西300米 |
专利法律状态
2017-05-03
授权
状态信息
授权
摘要
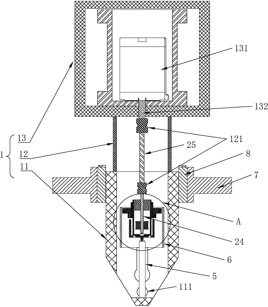
一种旋转式在线粘度计,包括一个外壳,外壳内设有一个空心圆柱体形状的液腔筒,液腔筒一端开口,另一端封闭,其特征在于:所述液腔筒封闭的一端设为圆台形状,该端部套有一个盖子,盖子外端面中央设有一个旋转轴一,旋转轴一顶部设为半球形,旋转轴一顶端抵触设置一根长轴,长轴与旋转轴一同轴线设置,该长轴的一端与外壳前端内壁相抵触,长轴一端固定设有槽形宝石轴承一,所述旋转轴一与槽形宝石轴承一配合。本实用新型的目的在于提供一种旋转式在线粘度计,其传动结构之间摩擦阻力小,测得的粘度数值精确,误差较小。


