授权公布号:CN215866096U
电池包组机械强度多工位蠕变持久试验机
有效
申请
2021-09-16
申请公布
1970-01-01
授权
2022-02-18
预估到期
2031-09-16
| 申请号 | CN202122241728.1 |
| 申请日 | 2021-09-16 |
| 授权公布号 | CN215866096U |
| 授权公告日 | 2022-02-18 |
| 分类号 | G01N3/02;G01N3/08 |
| 分类 | 测量;测试; |
| 申请人名称 | 济南恒瑞金试验机有限公司 |
| 申请人地址 | 山东省济南市槐荫区经十路28399号善能大厦A座1606A室 |
专利法律状态
2022-02-18
授权
状态信息
授权
摘要
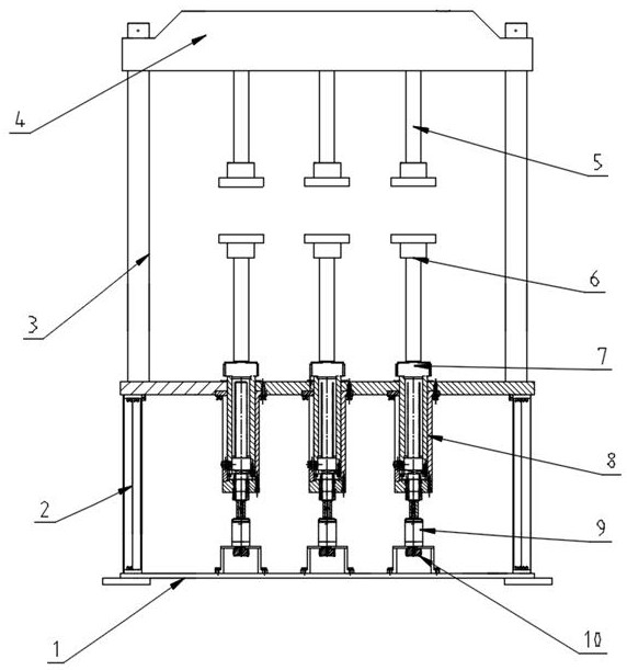
本实用新型涉及试验机领域,提供了一种电池包组机械强度多工位蠕变持久试验机,用于测定电池包组壳体机械强度性能、蠕变持久性能、安全荷载性能,为电池包结构优化、提高强度提供数据支持。一种电池包组机械强度多工位蠕变持久试验机,包括主机框架,主机框架包括多个电池包组加载测试装置,电池包组加载测试装置包括动力机构、上压盘、下压盘和测力传感器,动力机构用于带动下压盘向远离或靠近上压盘方向移动,动力机构和下压盘之间连接测力传感器。


