授权公布号:CN212843809U
一种天然气计量流量计
有效
申请
2020-07-22
申请公布
1970-01-01
授权
2021-03-30
预估到期
2030-07-22
| 申请号 | CN202021459435.X |
| 申请日 | 2020-07-22 |
| 授权公布号 | CN212843809U |
| 授权公告日 | 2021-03-30 |
| 分类号 | G01F15/18;G01F1/66 |
| 分类 | 测量;测试; |
| 申请人名称 | 江苏西克传感器有限公司 |
| 申请人地址 | 江苏省常州市武进高新区凤翔路31号凤翔工业园3号厂房南侧 |
专利法律状态
2021-03-30
授权
状态信息
授权
摘要
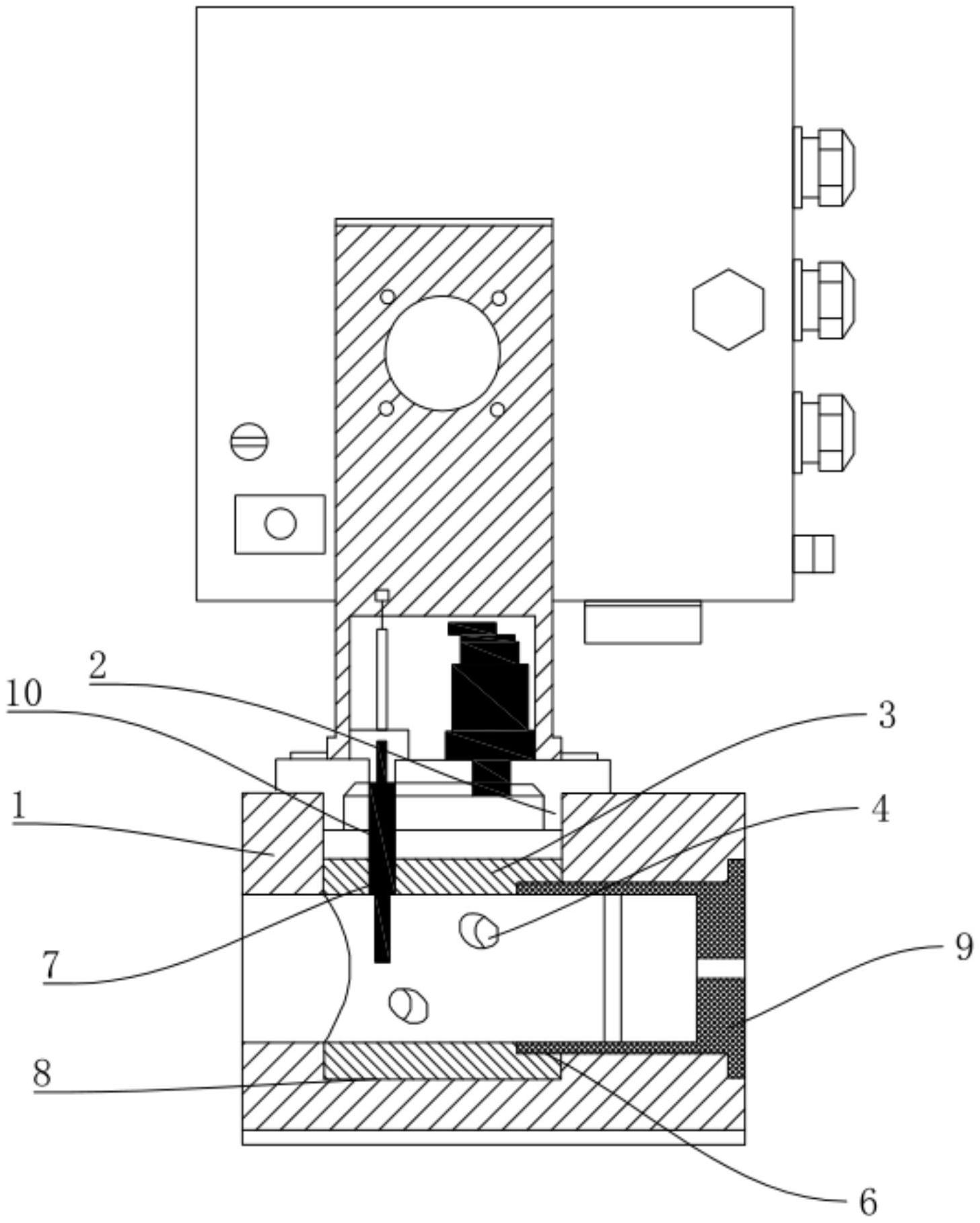
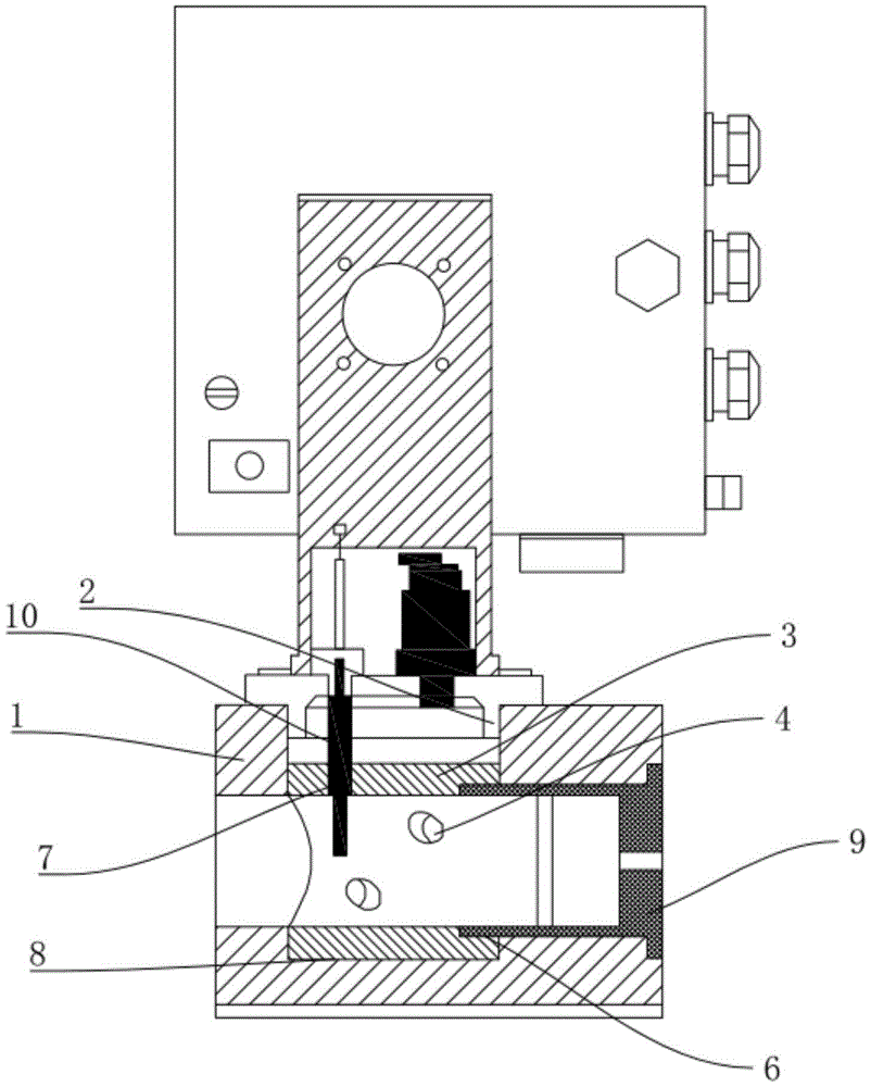
本实用新型公开了一种天然气计量流量计,包括壳体,壳体内部中空以通天然气;壳体沿径向开有安装槽,壳体的安装槽设置有安装块,壳体与安装块可拆卸连接,安装块内中空与壳体内部中空连通,安装块外壁上开有安装传感器的安装孔,传感器通过螺母和安装块固定,安装块再安装至壳体内,流量计通过使用安装块组装和固定传感器,安装块使传感器组装更加容易和精确,从而提高流量计的性能;流量计与安装块可拆卸连接,多次更换传感器后导致安装块的安装孔精度下降,可直接更换新的安装块使用而不必更换流量计。


