授权公布号:CN218493352U
一种开锁模块
有效
申请
2022-09-26
申请公布
1970-01-01
授权
2023-02-17
预估到期
2032-09-26
| 申请号 | CN202222538386.4 |
| 申请日 | 2022-09-26 |
| 授权公布号 | CN218493352U |
| 授权公告日 | 2023-02-17 |
| 分类号 | E05B49/00;E05B17/18;B08B1/00 |
| 分类 | 锁;钥匙;门窗零件;保险箱; |
| 申请人名称 | 杭州珏朗科技有限公司 |
| 申请人地址 | 浙江省杭州市莫干山路1418-60号2号楼211室(上城区科技工业基地) |
专利法律状态
2023-02-17
授权
状态信息
授权
摘要
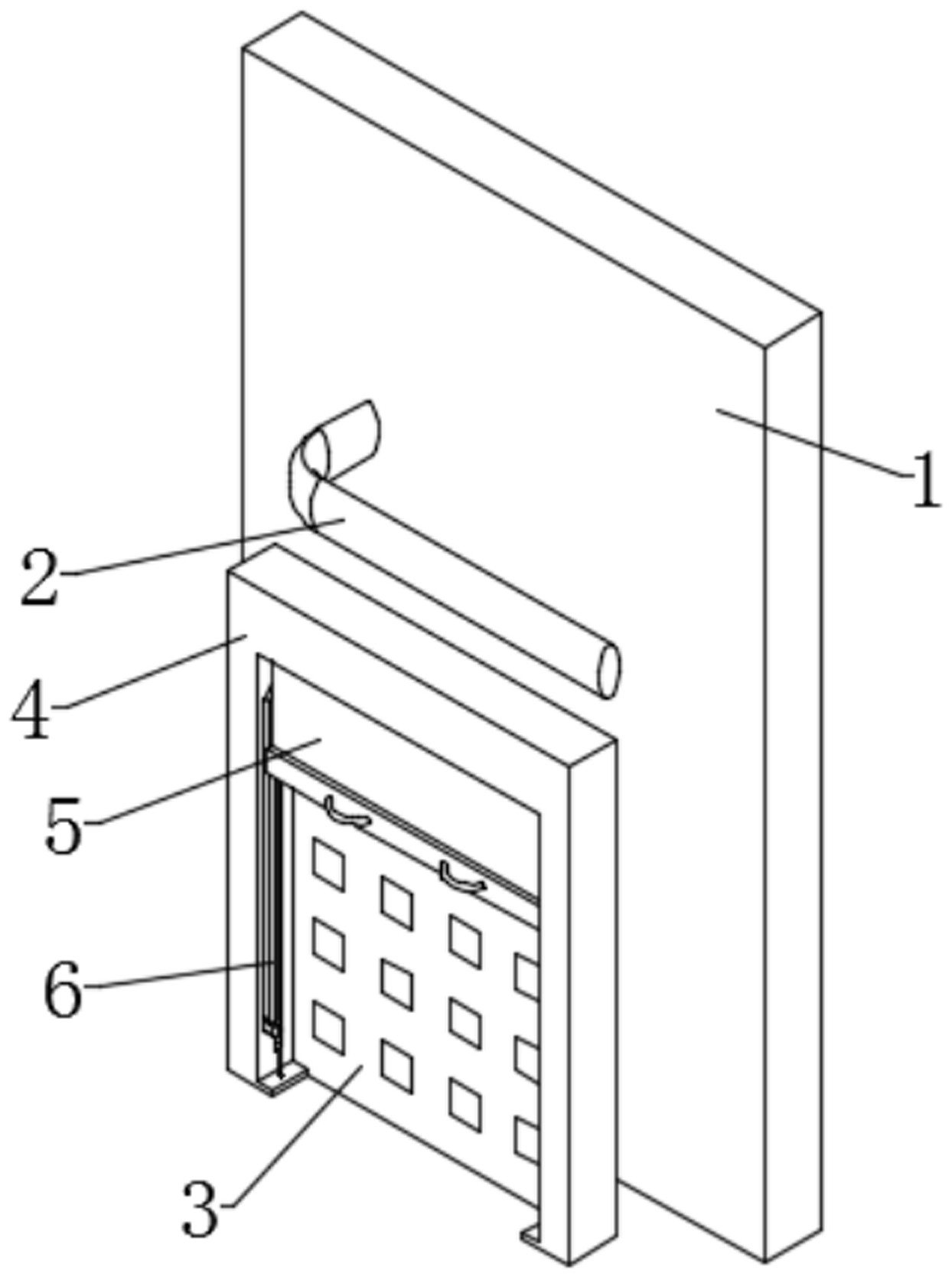
本实用新型公开了一种开锁模块,涉及锁具技术领域,本方案包括锁体,锁体上固定设有按键区,按键区外侧的锁体上固定安装有防护壳,防护壳的顶部设有防尘机构,防护壳的两侧内壁间设有清理机构,清理机构连接防尘机构,防护壳顶部的锁体上安装有把手。平时防尘机构将按键区遮挡防护,避免积灰,使用时,防尘机构开启,便于通过按键区输入密码进行开锁,使用结束后,防尘机构自动遮挡按键区,且遮挡过程中,同步带动清理机构对按键区进行刷拭清理,去除指纹油脂和积灰,避免密码数字显露。


