授权公布号:CN220218355U
一种O型圈套装装置
有效
申请
2023-07-12
申请公布
1970-01-01
授权
2023-12-22
预估到期
2033-07-12
| 申请号 | CN202321834284.5 |
| 申请日 | 2023-07-12 |
| 授权公布号 | CN220218355U |
| 授权公告日 | 2023-12-22 |
| 分类号 | B25B27/14 |
| 分类 | 手动工具;轻便机动工具;手动器械的手柄;车间设备;机械手; |
| 申请人名称 | 麦克传感器股份有限公司 |
| 申请人地址 | 陕西省宝鸡市渭滨区英达路18号 |
专利法律状态
2023-12-22
授权
状态信息
授权
摘要
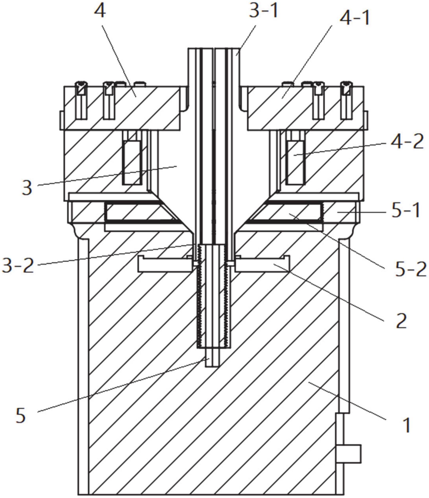
本实用新型属于装配技术领域,具体涉及一种O型圈套装装置。包括基座,基座上布置有若干扩张夹块,扩张夹块均同圆布置且能沿径向滑动,扩张夹块可实现定量的径向运动,防止O型圈形变过大而损坏。扩张夹块上设置有用于撑开O型圈的挂点结构,挂点结构用于固定悬挂O型圈,扩张夹块用于带动挂点结构将O型圈撑开,扩张夹块的圆心处放置待套装O型圈的部件,套装过程中,O型圈被均匀的撑开,能最大程度避免O型圈不均匀形变,避免O型圈磨损,造成O型圈密封性不良。基座上设置有用于将O型圈从挂点结构上剥离并套装在待套装部件上的剥离结构,实现O型圈的快速套装,整个套装过程中人员参与度低,机械化程度高,显著提升了O型圈的套装效率。


