授权公布号:CN207215363U
一种耐强腐蚀液位变送器
有效
申请
2017-09-12
申请公布
1970-01-01
授权
2018-04-10
预估到期
2027-09-12
| 申请号 | CN201721163821.2 |
| 申请日 | 2017-09-12 |
| 授权公布号 | CN207215363U |
| 授权公告日 | 2018-04-10 |
| 分类号 | G01L19/06;G01L19/14 |
| 分类 | 测量;测试; |
| 申请人名称 | 天水华天传感器有限公司 |
| 申请人地址 | 甘肃省天水市秦州区双桥路14号 |
专利法律状态
2018-04-10
授权
状态信息
授权
摘要
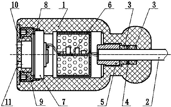
本实用新型公开了一种耐强腐蚀液位变送器,属于测试计量技术领域。包括腔体结构与其内部各部件尺寸相适应的一体式封装壳体,该封装壳体内设有通过导线连接的陶瓷电容传感器、转换电路模块和通气电缆线,通气电缆线部分伸出封装壳体外,封装壳体内的通气电缆线上由外向内依次套设橡胶圈和刚性的电缆固定压紧件;陶瓷电容传感器远离通气电缆一侧底部设有L型密封圈,L型密封圈另一侧通过螺接塑性的螺纹压紧环压紧,螺纹压紧环另一侧螺接进压保护盖,进压保护盖上设有进压孔。其封装结构塑性与刚性相结合,且封装壳体为一体式结构,陶瓷电容传感器的密封采用倒装的外界压力自压紧结构,既能够满足强腐蚀环境的工作要求,且密封可靠性高。


