授权公布号:CN117058862B
美容仪主机、美容仪控制座、美容仪及美容仪控制方法
有效
申请
2023-10-13
申请公布
2023-11-14
授权
2023-12-22
预估到期
2043-10-13
| 申请号 | CN202311323092.2 |
| 申请日 | 2023-10-13 |
| 申请公布号 | CN117058862A |
| 申请公布日 | 2023-11-14 |
| 授权公布号 | CN117058862B |
| 授权公告日 | 2023-12-22 |
| 分类号 | G08C17/02;G08C23/04;A61N1/04;A61N1/36 |
| 分类 | 信号装置; |
| 申请人名称 | 深圳市宗匠科技有限公司 |
| 申请人地址 | 广东省深圳市南山区粤海街道滨海社区高新南十道63号高新区联合总部大厦26层 |
专利法律状态
2023-12-22
授权
状态信息
授权
2023-11-14
公布
状态信息
公布
摘要
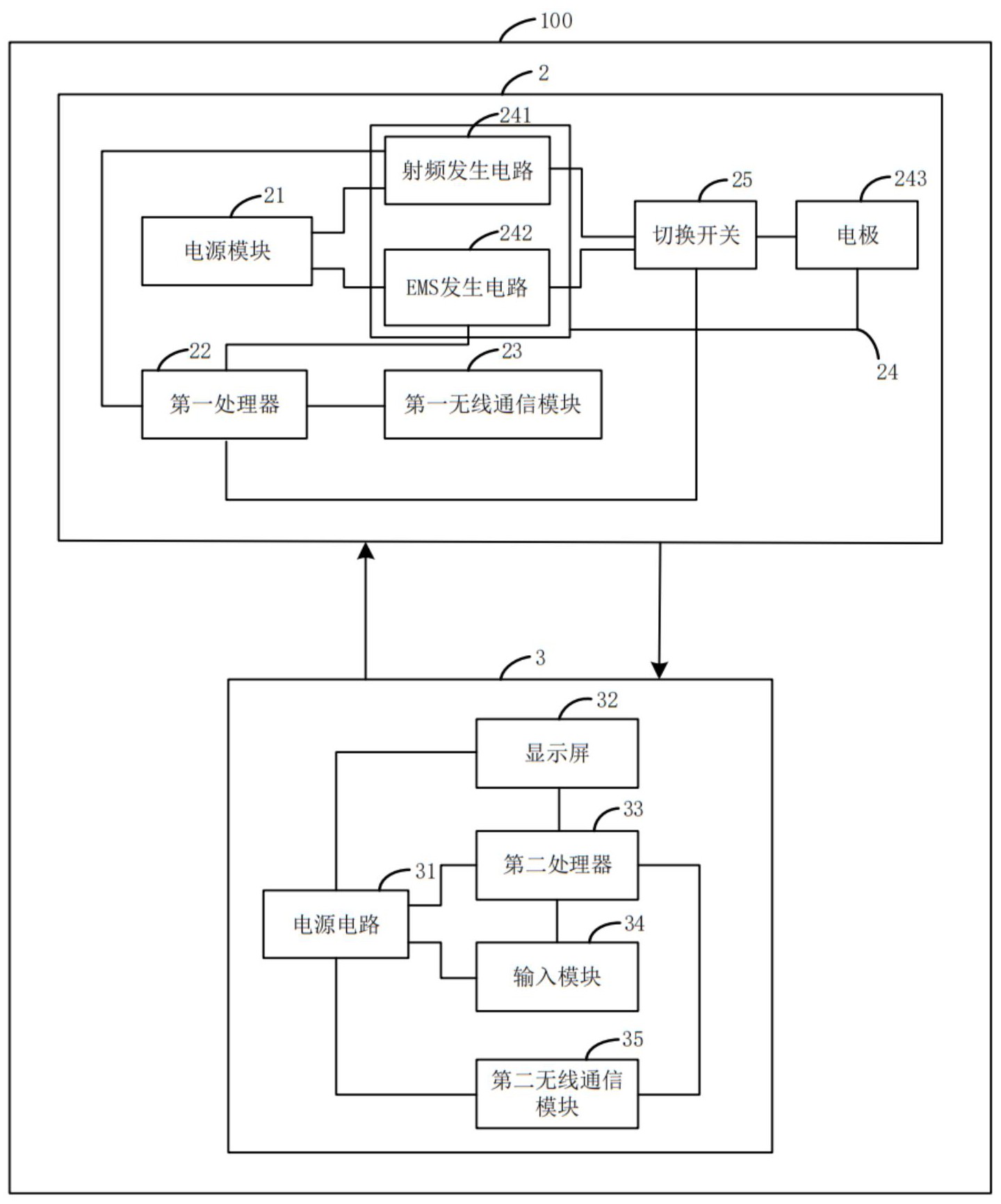
本申请提供了一种美容仪主机、美容仪控制座、美容仪及美容仪控制方法,美容仪主机包括处理器、无线通信模块和功能模块,处理器用于基于美容仪控制座发出的控制指令而实现相应的控制。美容仪控制座包括处理器、无线通信模块和输入模块,输入模块响应用户的输入操作而产生相应的控制指令,处理器控制无线通信模块将控制指令发送至一与美容仪控制座分离设置的美容仪主机,以用于基于控制指令控制美容仪主机。美容仪包括美容仪主机和美容仪控制座,美容仪主机和美容仪控制座分离设置。本申请能够使美容仪控制座无线遥控美容仪主机,操作方便快捷,极大提高了用户使用的体验感。


