授权公布号:CN216046581U
一种基于COB光源模组的LED显示屏
有效
申请
2021-10-25
申请公布
1970-01-01
授权
2022-03-15
预估到期
2031-10-25
| 申请号 | CN202122573452.7 |
| 申请日 | 2021-10-25 |
| 授权公布号 | CN216046581U |
| 授权公告日 | 2022-03-15 |
| 分类号 | F16M11/22;F16M11/10;F16M11/16;G09F9/33 |
| 分类 | 工程元件或部件;为产生和保持机器或设备的有效运行的一般措施;一般绝热; |
| 申请人名称 | 深圳市大元智能科技有限公司 |
| 申请人地址 | 广东省深圳市光明区新湖街道楼村社区第一工业区创鑫工业园5栋一楼、五楼 |
专利法律状态
2022-03-15
授权
状态信息
授权
摘要
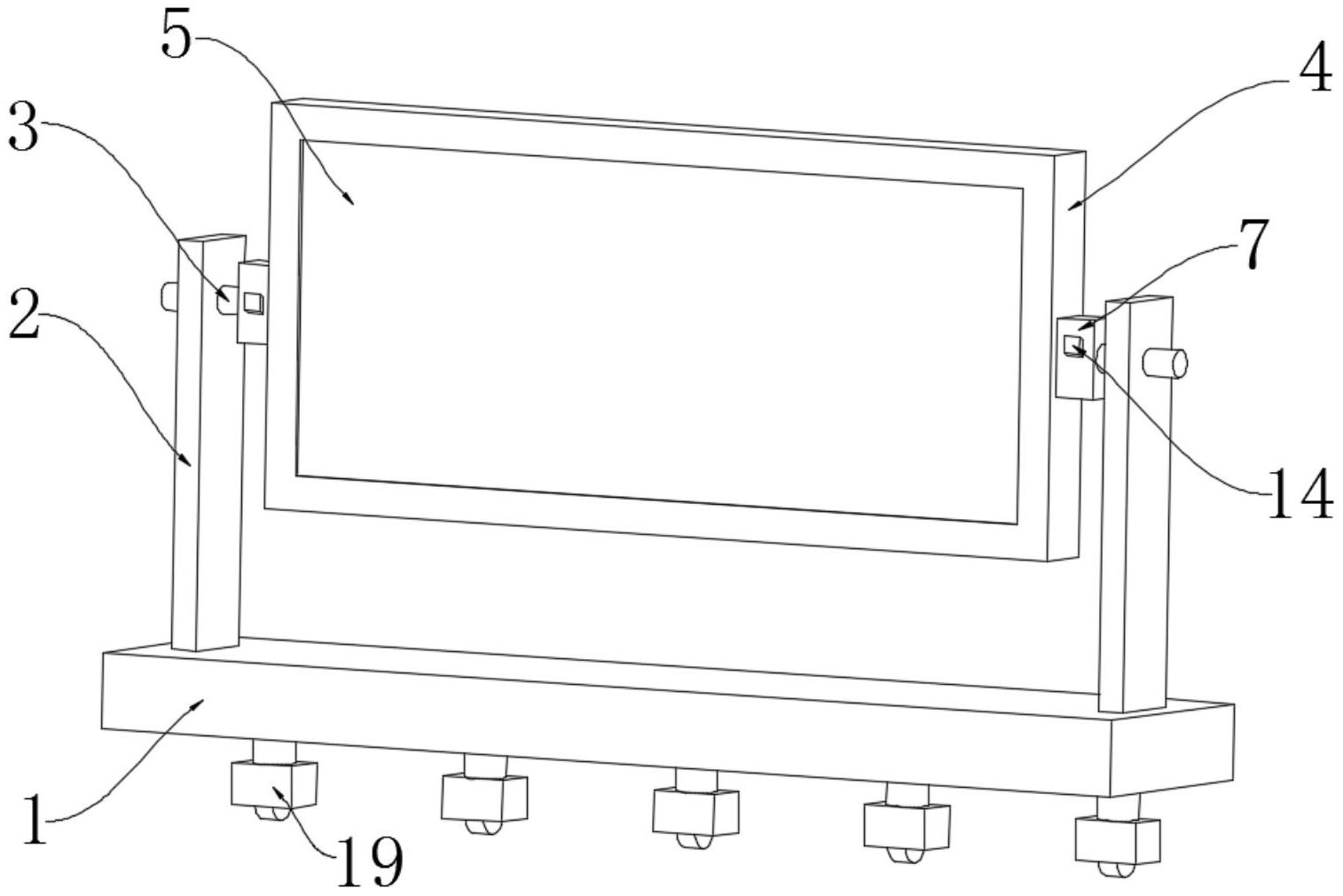
本申请公开了一种基于COB光源模组的LED显示屏,属于LED显示屏技术领域,包括底座,所述底座的顶部固定连接有支架,所述支架的内壁活动插设有调节杆,所述调节杆远离支架的一端固定连接有外壳,所述外壳的内壁固定安装有显示屏,所述外壳的外表面开设有散热孔,所述外壳的两侧固定安装有调节箱。该基于COB光源模组的LED显示屏,通过支架、调节杆和外壳的配合使用,则显示屏的观看角度受到调节,再通过限位板、复位弹簧、长杆、限位块和调节孔的配合使用,调节杆只能单向逆时针旋转,再通过电源开关、电磁铁、调节弹簧和磁块的配合使用,限位块伸入调节杆后,磁块向外伸展,进而调节杆在限位块和磁块的配合下,调节杆无法再次旋转。


