授权公布号:CN213935475U
一种COB显示屏箱体的前维护装置
有效
申请
2020-11-27
申请公布
1970-01-01
授权
2021-08-10
预估到期
2030-11-27
| 申请号 | CN202022815457.1 |
| 申请日 | 2020-11-27 |
| 授权公布号 | CN213935475U |
| 授权公告日 | 2021-08-10 |
| 分类号 | G09F9/33;H05K5/02 |
| 分类 | 教育;密码术;显示;广告;印鉴; |
| 申请人名称 | 深圳市大元智能科技有限公司 |
| 申请人地址 | 广东省深圳市光明区新湖街道楼村社区第一工业区创鑫工业园5栋一楼、五楼 |
专利法律状态
2021-08-10
授权
状态信息
授权
摘要
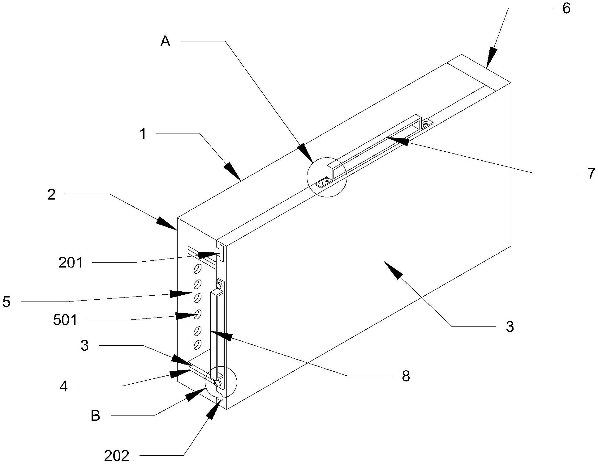
本实用新型涉及COB光源封装的LED显示屏技术领域,且公开了一种COB显示屏箱体的前维护装置,包括维护装置本体,所述维护装置本体包括主箱体和次箱体,所述主箱体包括第一凸块、第二凸块、海绵层、磁吸层、背板、通孔、栏板、固定条和固定块,所述次箱体包括第一握把、第一固定板、第一螺栓、第二握把、第二固定板和第二螺栓。该COB显示屏箱体的前维护装置,通过安装第一凸块和第二凸块对维护装置本体进行快速的组装,通过进行磁吸层、栏板对屏幕和次箱体进行固定,通过侧箱体安装的握把对次箱体方便用力的好处,达到了操作简单的有益效果,通过握住次箱体向没有栏板的一侧进行拽动,随后将屏幕拆下来即可,达到了拆卸方便的有益效果。


