授权公布号:CN213366015U
一种全新的COB光源封装装置
有效
申请
2020-11-27
申请公布
1970-01-01
授权
2021-06-04
预估到期
2030-11-27
| 申请号 | CN202022815838.X |
| 申请日 | 2020-11-27 |
| 授权公布号 | CN213366015U |
| 授权公告日 | 2021-06-04 |
| 分类号 | G09F9/33;H05K5/02 |
| 分类 | 教育;密码术;显示;广告;印鉴; |
| 申请人名称 | 深圳市大元智能科技有限公司 |
| 申请人地址 | 广东省深圳市光明区新湖街道楼村社区第一工业区创鑫工业园5栋一楼、五楼 |
专利法律状态
2021-06-04
授权
状态信息
授权
摘要
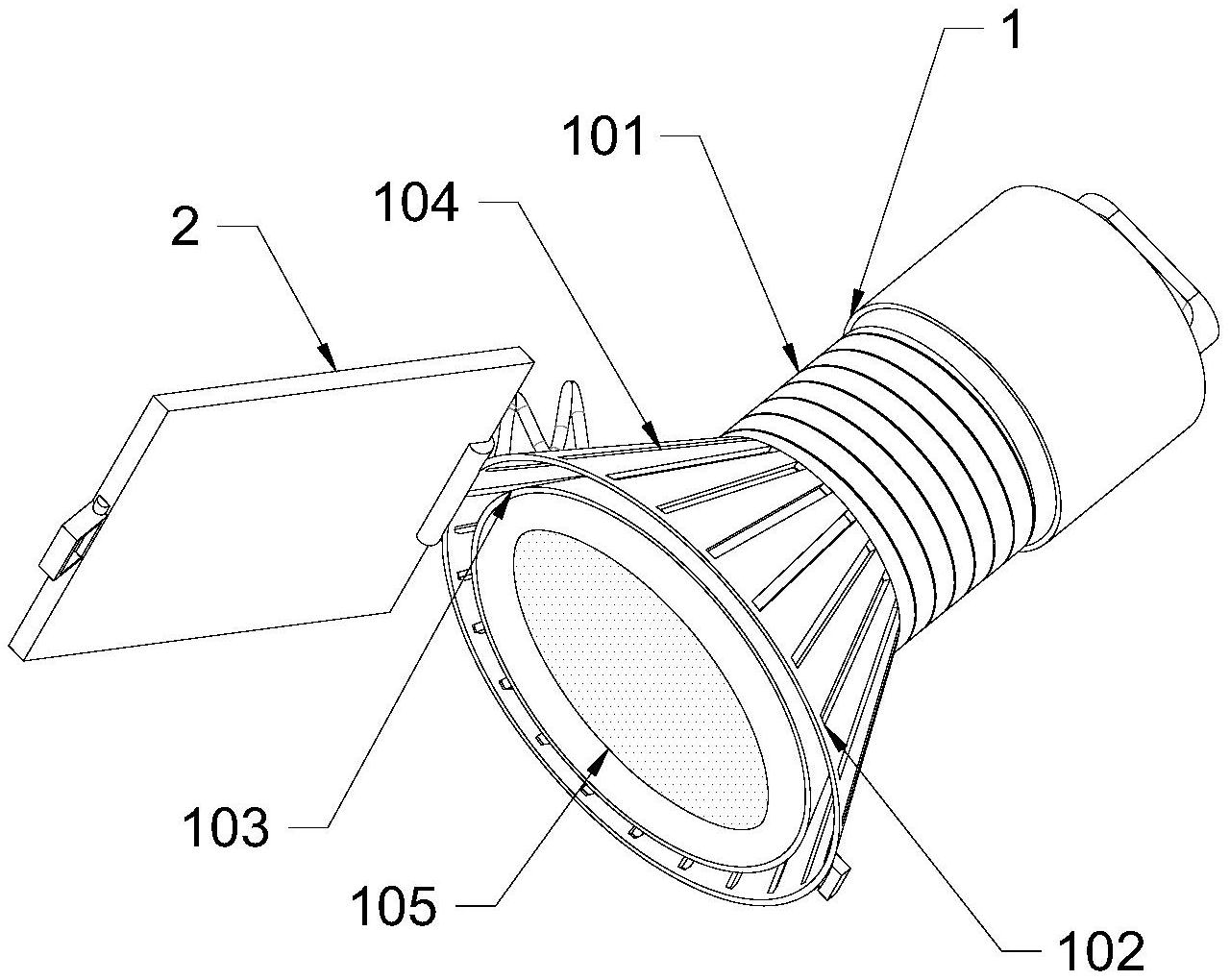
本实用新型涉及LED显示屏技术领域,且公开了一种全新的COB光源封装装置,包括主体,所述主体的上方固定安装有螺纹管,所述螺纹管的底部固定安装有防护外罩,所述防护外罩的内部固定安装有防护内层,且所述防护外罩的外表面开设有若干数量的散热槽,所述防护外罩的一侧底部活动安装有封闭装置。该全新的COB光源封装装置,通过螺纹管,防护壳,第一滚轴和盖板的共同作用,防护壳的内部开设有螺纹,与螺纹管之间进行螺纹连接,挂环可以方便随时将其挂起或者取下,盖板通过第一滚轴进行转动,将防护外罩的出口进行封闭,当需要封装或者拆封时,直接将防护壳拧开,将挡板取下即可,从而可以达到可以安全快速的对COB光源进行封装的作用。


