授权公布号:CN213366014U
一种COB箱体吊装卡夹装置
有效
申请
2020-11-27
申请公布
1970-01-01
授权
2021-06-04
预估到期
2030-11-27
| 申请号 | CN202022815426.6 |
| 申请日 | 2020-11-27 |
| 授权公布号 | CN213366014U |
| 授权公告日 | 2021-06-04 |
| 分类号 | G09F9/33;H05K5/02 |
| 分类 | 教育;密码术;显示;广告;印鉴; |
| 申请人名称 | 深圳市大元智能科技有限公司 |
| 申请人地址 | 广东省深圳市光明区新湖街道楼村社区第一工业区创鑫工业园5栋一楼、五楼 |
专利法律状态
2021-06-04
授权
状态信息
授权
摘要
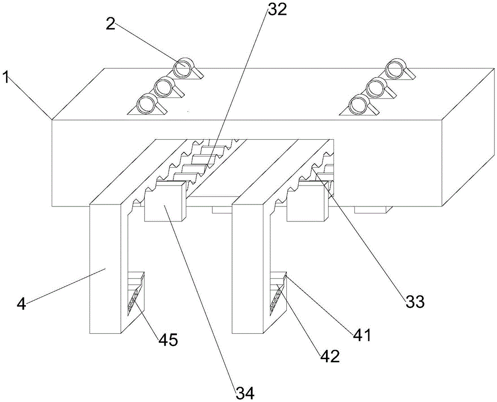
本实用新型涉及COB光源封装的LED显示屏技术领域,且公开了一种COB箱体吊装卡夹装置,包括箱体卡夹本体,所述箱体卡夹本体顶部设有吊环,所述箱体卡夹本体内部设有异步电机、第二齿条和挡板,所述箱体卡夹本体正面与背面设有移动柱、移动板、卡槽、弹簧、滑轮和卡块。该COB箱体吊装卡夹装置,通过箱体卡夹本体顶部设有多个吊环,使其卡夹COB箱体时发生顶部单个吊环脱离等现象,通过设有的四个移动柱对其COB箱体进行稳定夹固,达到了稳定卡夹COB箱体移动的有益效果,通过移动板之间底部设有卡块,使其卡槽不能很好的卡柱COB箱体时进行第二次卡夹,使其移动板转换成固定板进行对COB箱体的挤压加固,达到了卡夹松动时进行第二卡夹的有益效果。


