授权公布号:CN216215623U
一种具有抗干扰能力的COB显示屏
有效
申请
2021-11-02
申请公布
1970-01-01
授权
2022-04-05
预估到期
2031-11-02
| 申请号 | CN202122682016.3 |
| 申请日 | 2021-11-02 |
| 授权公布号 | CN216215623U |
| 授权公告日 | 2022-04-05 |
| 分类号 | H02G3/04;G09F9/33 |
| 分类 | 发电、变电或配电; |
| 申请人名称 | 深圳市大元智能科技有限公司 |
| 申请人地址 | 广东省深圳市光明区新湖街道楼村社区第一工业区创鑫工业园5栋一楼、五楼 |
专利法律状态
2022-04-05
授权
状态信息
授权
摘要
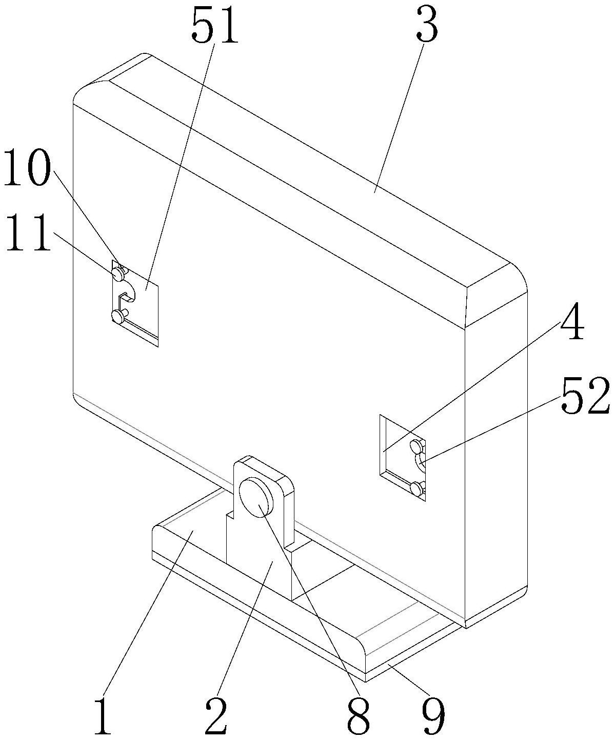
本实用新型公开了一种具有抗干扰能力的COB显示屏,包括底座,所述底座的顶部固定连接有支撑杆,支撑杆的顶部活动连接有显示屏机壳,显示屏机壳正面的两侧均开设有定线槽,定线槽的内部固定连接有固定机构,定线槽内壁背面的顶部和底部均固定连接有分离板。本实用新型通过设置固定机构,可以对定位槽内部的输出线进行固定,再通过分离板对输出线进行分离,避免输出线缠绕,从而达到了可以避免输出线缠绕相互干扰的效果,解决了现有的COB显示屏无法避免输出线缠绕相互干扰的问题,该具有抗干扰能力的COB显示屏,具备可以避免输出线缠绕相互干扰的优点,使用者在使用时不会出现电线缠绕相互干扰,从而保证使用者正常使用。


