授权公布号:CN218561610U
一种搪瓷烧成炉
有效
申请
2022-07-14
申请公布
1970-01-01
授权
2023-03-03
预估到期
2032-07-14
| 申请号 | CN202221824786.5 |
| 申请日 | 2022-07-14 |
| 授权公布号 | CN218561610U |
| 授权公告日 | 2023-03-03 |
| 分类号 | C23D9/04 |
| 分类 | 对金属材料的镀覆;用金属材料对材料的镀覆;表面化学处理;金属材料的扩散处理;真空蒸发法、溅射法、离子注入法或化学气相沉积法的一般镀覆;金属材料腐蚀或积垢的一般抑制〔2〕; |
| 申请人名称 | 青岛海尔智慧电器设备有限公司 |
| 申请人地址 | 山东省青岛市黄岛区青龙河路59号 |
专利法律状态
2023-03-03
授权
状态信息
授权
摘要
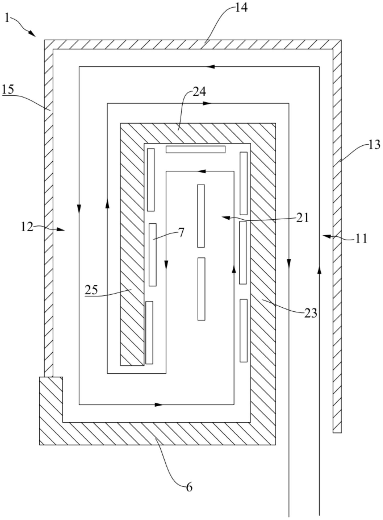
本实用新型公开了一种搪瓷烧成炉,其属于搪瓷烧结装置技术领域,搪瓷烧成炉包括低温区、高温区和输送装置。高温区至少部分位于所述低温区内部,所述高温区的两侧分别为第一低温区和第二低温区;输送装置设置于所述搪瓷烧成炉内,能够引导被输送件依次经由所述第一低温区、所述第二低温区进入所述高温区内,再从所述高温区内依次经由所述第二低温区和所述第一低温区移出。本实用新型能够在在第一低温区和第二低温区内对涂覆有搪瓷釉的工件先进行预热,预热结束后再将工件输送至高温区内,搪瓷紧密结合于工件上,形成产品,从高温区输送出的产品进入第二低温区和第一低温区后能够散发热量,对高温区进行保温,避免能量浪费。


