授权公布号:CN212985719U
一种方便拆装的扣压式底座套筒
有效
申请
2020-07-24
申请公布
1970-01-01
授权
2021-04-16
预估到期
2030-07-24
| 申请号 | CN202021485190.8 |
| 申请日 | 2020-07-24 |
| 授权公布号 | CN212985719U |
| 授权公告日 | 2021-04-16 |
| 分类号 | F16B7/12 |
| 分类 | 工程元件或部件;为产生和保持机器或设备的有效运行的一般措施;一般绝热; |
| 申请人名称 | 宁波宇川机械科技有限公司 |
| 申请人地址 | 浙江省宁波市北仑区柴桥金水桥路29号2幢1号-1 |
专利法律状态
2021-04-16
授权
状态信息
授权
摘要
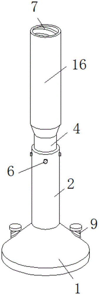
本实用新型公开了一种方便拆装的扣压式底座套筒,包括固定底盘,所述固定底盘上端固定连接有套接管,且套接管内部开设有活动槽,所述活动槽内部活动连接有活动杆,且活动杆内部开设有固定螺孔,所述套接管外侧可拆卸连接有固定螺钉,且固定螺钉穿过套接管外侧与固定螺孔相互卡合,所述活动杆上端固定连接有螺纹连接套筒,所述调节螺钉下端固定连接有旋转块,且调节螺钉下端活动安装有固定板,所述固定板下端固定连接有吸盘,且固定板上端固定连接有限位套,所述限位套内部开设有旋转槽,且限位套上端开设有限位孔。该方便拆装的扣压式底座套筒,方便整体进行高度的调节,增加了整体的固定效果,且方便整体进行拆卸,增加了整体的灵活性。


