授权公布号:CN213998495U
一种钢筋直螺纹套筒连接装置
有效
申请
2020-11-26
申请公布
1970-01-01
授权
2021-08-20
预估到期
2030-11-26
| 申请号 | CN202022776905.1 |
| 申请日 | 2020-11-26 |
| 授权公布号 | CN213998495U |
| 授权公告日 | 2021-08-20 |
| 分类号 | B23P19/06 |
| 分类 | 机床;不包含在其他类目中的金属加工; |
| 申请人名称 | 深圳市固力士建材有限公司 |
| 申请人地址 | 广东省深圳市宝安区石岩街道浪心社区宝源社区料坑大道52号 |
专利法律状态
2021-08-20
授权
状态信息
授权
摘要
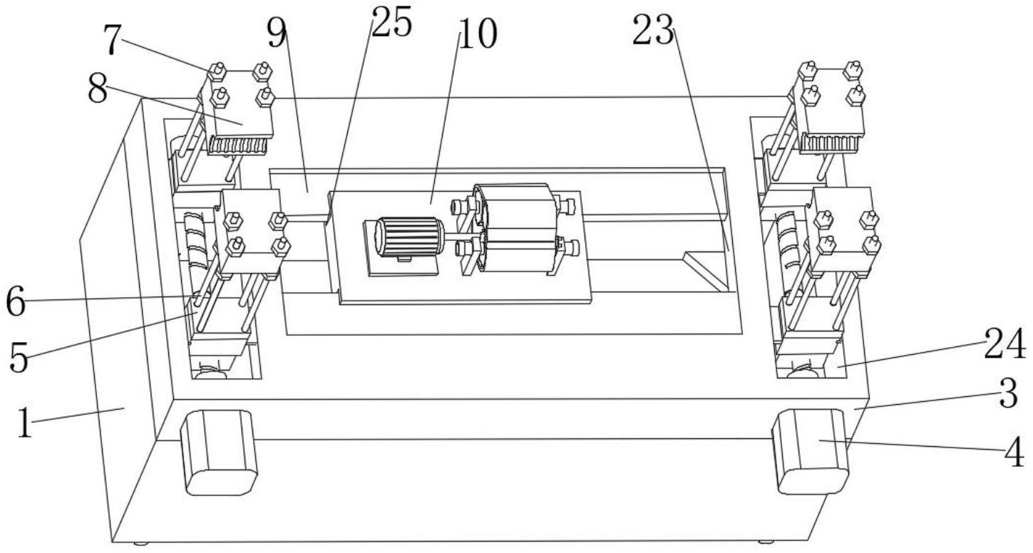
本实用新型提供一种钢筋直螺纹套筒连接装置,属于机械技术领域,该钢筋直螺纹套筒连接装置包括连接台,连接台的上端固定连接有工作台,工作台的上端开设有方形槽,方形槽内设有凹形块,方形槽的前后内壁均固定连接有凸形板,凹形块的前后两端均开设有凹形滑槽,两个凸形板分别与两个凹形滑槽滑动连接,凹形块的上端设有转动机构,转动机构包括底板、第二电机、支撑杆、传动杆、第一齿轮、齿轮形套筒、同时避免一端固定以后另一端不能更好地固定,同时履带转动连接于齿轮形套筒、第二齿轮、两个第一齿轮的表面更好地固定传动机构使设备更好的运行且方便设备固定物体以后进行拆卸方便我们进行对物体固定后的拿取。


