授权公布号:CN217604305U
一种柜式净化消毒器
有效
申请
2022-06-06
申请公布
1970-01-01
授权
2022-10-18
预估到期
2032-06-06
| 申请号 | CN202221385042.8 |
| 申请日 | 2022-06-06 |
| 授权公布号 | CN217604305U |
| 授权公告日 | 2022-10-18 |
| 分类号 | F24F8/108;F24F8/22;F24F13/20;F24F13/28;F24F13/24;F24F13/32;F24F11/89;F24F11/52 |
| 分类 | 供热;炉灶;通风; |
| 申请人名称 | 江苏巨光光电科技有限公司 |
| 申请人地址 | 江苏省无锡市江阴市临港新城开发区利港工业园区 |
专利法律状态
2022-10-18
授权
状态信息
授权
摘要
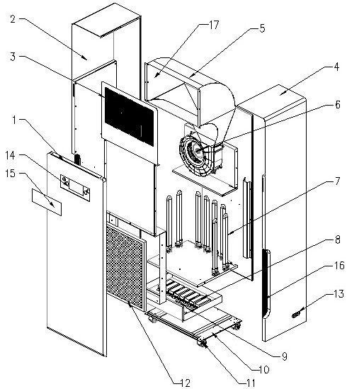
本实用新型涉及一种柜式净化消毒器,属于消毒器设备的技术领域。一种柜式净化消毒器,包括壳体,所述壳体包括前壳体、左侧壳体、右侧壳体以及底板,所述左侧壳体和右侧壳体上均设置有进风口,所述前壳体的上方设置出风板;所述壳体内依次设置有过滤单元和消毒单元,所述过滤单元和消毒单元均设置在进风口的后方;所述壳体内还设置有风机,所述风机的出口端通过风道连通到出风板,所述风道设置为内部由窄到宽的弧形结构;所述风道的出风口大小与出风板相匹配。本实用新型通过风道,均匀出风且通过两层过滤,净化更彻底。


