授权公布号:CN214526058U
一种智能仓库批量传送货物上下堆垛机的对接装置
有效
申请
2021-01-27
申请公布
1970-01-01
授权
2021-10-29
预估到期
2031-01-27
| 申请号 | CN202120224547.5 |
| 申请日 | 2021-01-27 |
| 授权公布号 | CN214526058U |
| 授权公告日 | 2021-10-29 |
| 分类号 | B65G1/04 |
| 分类 | 输送;包装;贮存;搬运薄的或细丝状材料; |
| 申请人名称 | 三力士股份有限公司 |
| 申请人地址 | 浙江省绍兴市柯桥区柯岩街道余渚村 |
专利法律状态
2021-10-29
授权
状态信息
授权
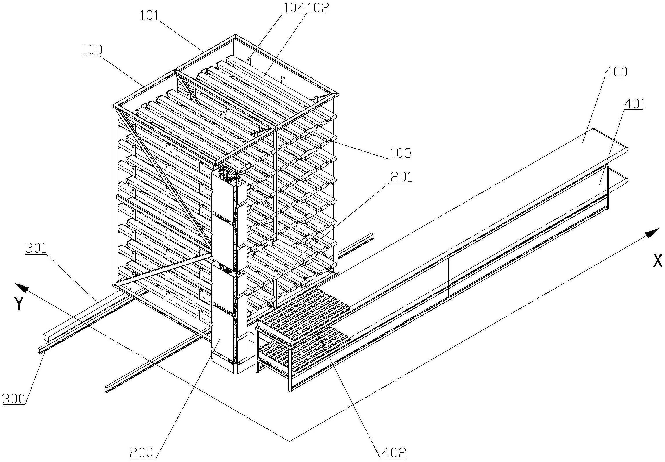
摘要
本实用新型涉及一种智能仓库批量传送货物上下堆垛机的对接装置,包括对接区、提升装置和输送线,所述对接区包括入库区和出库区,出、入库区均包括多层可独立双向驱动的库区传送带,出、入库区位于库区传送带传送方向的两端均开口;所述输送线包括上下层设置的出库输送线和入库输送线;所述提升装置包括提升手臂和用于升降提升手臂的提升机,提升手臂包括可双向驱动的中间传送带,中间传送带用于将货物在对接区和输送线之间传送;优势在于:利用堆垛机存储工作的时间,通过提升机将输送线上的货物一包包放入对接区,等到堆垛机完成存储工作回到原点,和对接区连接,同步一次性完成输送工作,提高了工作效率。


