授权公布号:CN220571981U
一种节能电热蒸炉
有效
申请
2023-02-09
申请公布
1970-01-01
授权
2024-03-12
预估到期
2033-02-09
| 申请号 | CN202320169095.4 |
| 申请日 | 2023-02-09 |
| 授权公布号 | CN220571981U |
| 授权公告日 | 2024-03-12 |
| 分类号 | A47J27/16;A47J36/38;A47J36/32 |
| 分类 | 家具;家庭用的物品或设备;咖啡磨;香料磨;一般吸尘器; |
| 申请人名称 | 深圳市桃园餐饮管理有限公司 |
| 申请人地址 | 广东省深圳市罗湖区桂园街道松园社区红岭中路2118号建设集团大厦A座501 |
专利法律状态
2024-03-12
授权
状态信息
授权
摘要
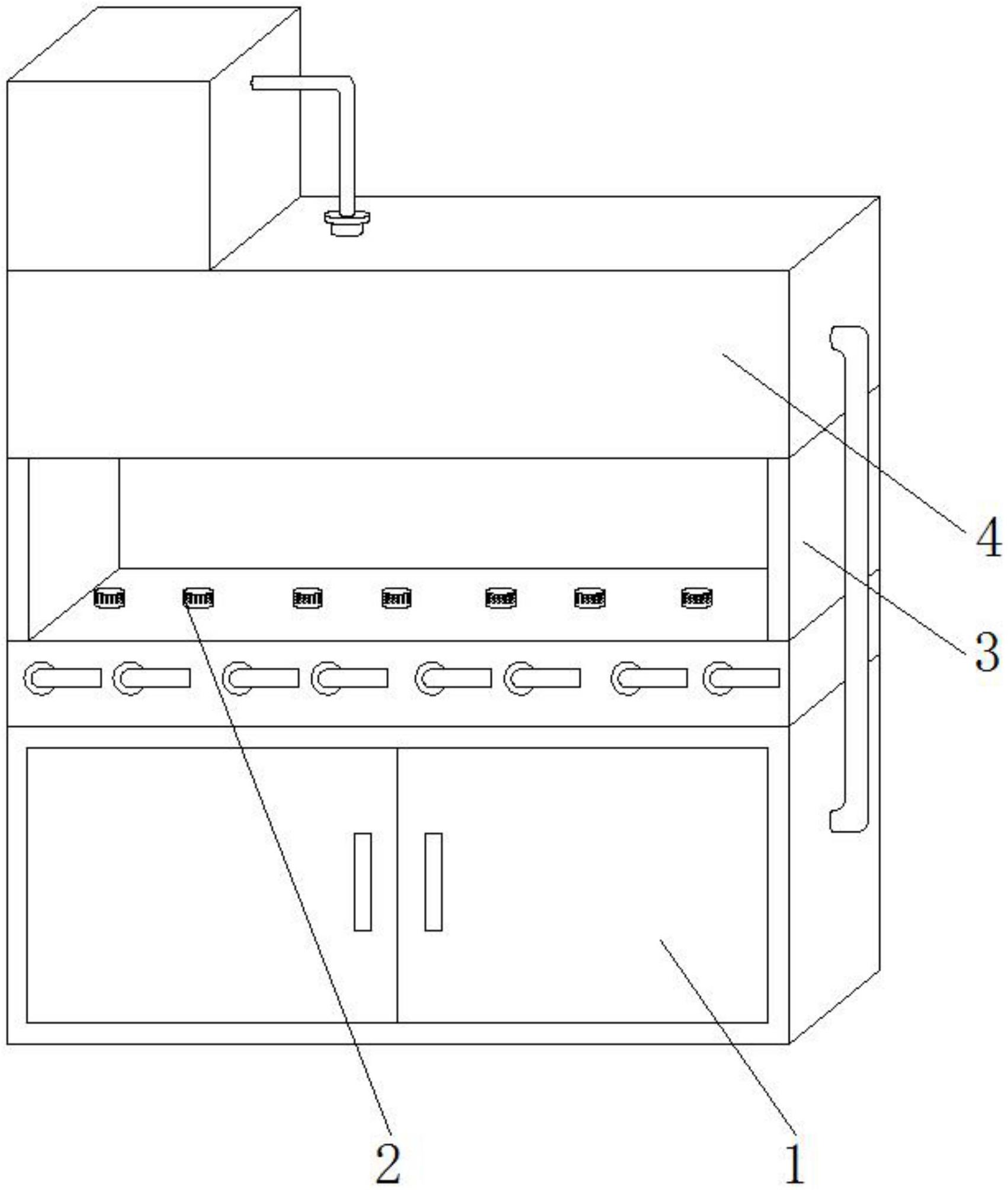
本实用新型涉及一种节能电热蒸炉,包括机体,所述机体的内部设置有蒸炉结构,所述蒸炉结构内包括内置的蒸汽系统,设置与蒸炉结构表面的至少两个蒸汽头,每个所述蒸汽头配置有独立的蒸汽开关控制,其中,所述蒸汽系统与至少两个所述蒸汽头通过一根蒸汽主管连通。本技术方案采用八头蒸炉,每一出气口独立控制,包括一体化蒸炉,优选方案中,柜内可拆卸挡板隔断蒸汽系统和储物箱,更具有实用性,本技术方案中,通过节能蒸汽系统由主蒸气管连通供气分别到台面的八个蒸汽口,每条支管装设气阀可独立开关控制蒸汽。


