授权公布号:CN216051153U
一种测地板承载力用实验台
有效
申请
2021-09-01
申请公布
1970-01-01
授权
2022-03-15
预估到期
2031-09-01
| 申请号 | CN202122093418.X |
| 申请日 | 2021-09-01 |
| 授权公布号 | CN216051153U |
| 授权公告日 | 2022-03-15 |
| 分类号 | G01N3/12;G01N3/02 |
| 分类 | 测量;测试; |
| 申请人名称 | 河北科华防静电地板制造有限公司 |
| 申请人地址 | 河北省保定市徐水区北孤庄营村西 |
专利法律状态
2023-12-15
专利权质押合同登记的生效、变更及注销
状态信息
专利权质押合同登记的生效;IPC(主分类):G01N3/12;专利号:ZL202122093418X;登记号:Y2023980068391;登记生效日:20231128;出质人:河北科华防静电地板制造有限公司;质权人:保定银行股份有限公司徐水支行;实用新型名称:一种测地板承载力用实验台;申请日:20210901;授权公告日:20220315
2022-03-15
授权
状态信息
授权
摘要
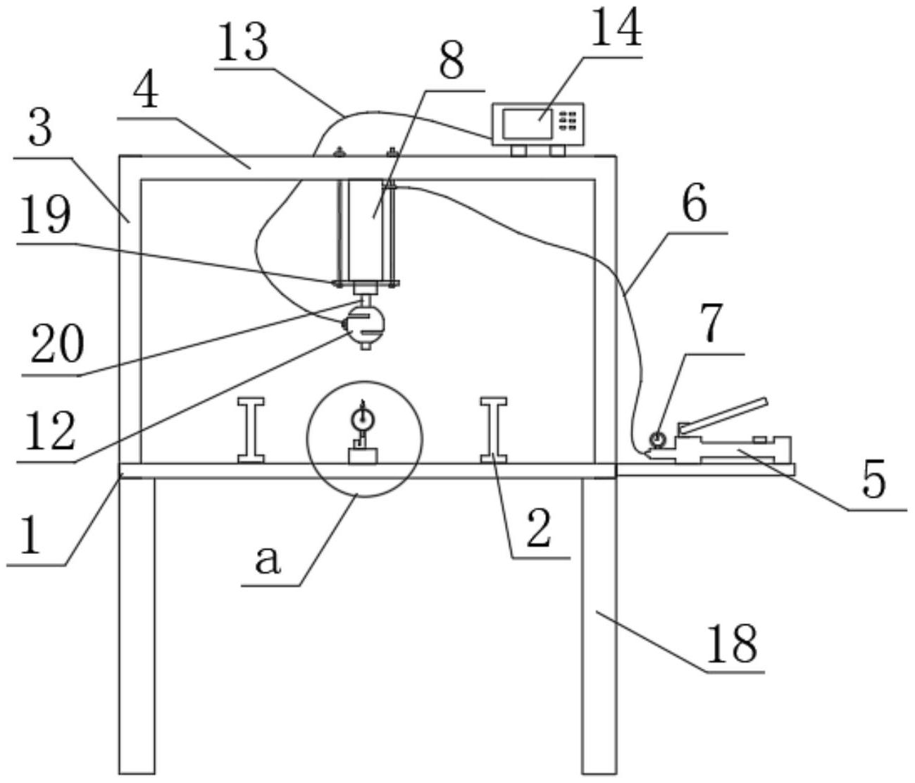
本实用新型公开一种测地板承载力用实验台,包括台架,台架上可拆卸连接有压力源组件,台架包括台面和位于台面顶部的横梁,台面顶端放置有若干底座和位移测量组件,位移测量组件位于若干底座之间,横梁上设有压力测量组件,位移测量组件的测量端与压力测量组件的测量端在一条直线上,压力源组件包括手动液压泵和液压缸,压力测量组件包括压力传感器和压力显示仪表,位移测量组件包括位移测量器、电动伸缩杆和固定座。本装置在实验过程中能随时读取实验数据,同时也满足测量各类型地板承载力的使用需求。


