授权公布号:CN216029875U
一种生产地板用瓷砖磨边机
有效
申请
2021-09-01
申请公布
1970-01-01
授权
2022-03-15
预估到期
2031-09-01
| 申请号 | CN202122093415.6 |
| 申请日 | 2021-09-01 |
| 授权公布号 | CN216029875U |
| 授权公告日 | 2022-03-15 |
| 分类号 | B24B9/06;B24B41/06;B24B41/00 |
| 分类 | 磨削;抛光; |
| 申请人名称 | 河北科华防静电地板制造有限公司 |
| 申请人地址 | 河北省保定市徐水区北孤庄营村西 |
专利法律状态
2022-03-15
授权
状态信息
授权
摘要
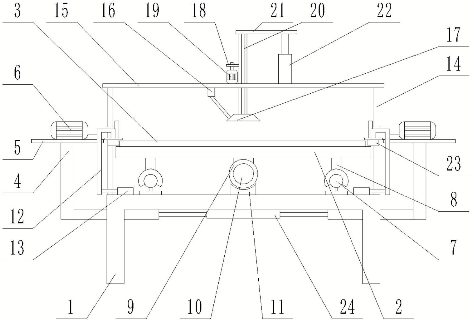
本实用新型公开一种生产地板用瓷砖磨边机,包括支撑台和滑动连接在支撑台顶端的送料板,送料板上放置有瓷砖,支撑台顶端两侧对称安装有打磨机构,两打磨机构均与瓷砖对应设置,支撑台一端安装有旋转机构,旋转机构与瓷砖对应设置;送料板底面固定连接有螺纹套,螺纹套与支撑台顶面滑动连接,支撑台顶面一端固定连接有驱动电机,驱动电机输出端固定连接有螺杆一端,螺杆与螺纹套螺纹配合,螺杆另一端转动连接在支撑台顶面。本实用新型通过旋转机构对瓷砖进行旋转,不需要人为转换瓷砖角度,通过磨边机构和限位部对瓷砖边缘进行限位磨边处理,降低了操作者的工作强度,提高了工作效率。


