授权公布号:CN214995535U
一种大理石板锚固件
有效
申请
2021-06-04
申请公布
1970-01-01
授权
2021-12-03
预估到期
2031-06-04
| 申请号 | CN202121266536.X |
| 申请日 | 2021-06-04 |
| 授权公布号 | CN214995535U |
| 授权公告日 | 2021-12-03 |
| 分类号 | E04F13/24;E04F13/25;E04F13/14 |
| 分类 | 建筑物; |
| 申请人名称 | 山东国创节能科技股份有限公司 |
| 申请人地址 | 山东省潍坊市昌乐县方山路1601号 |
专利法律状态
2021-12-03
授权
状态信息
授权
摘要
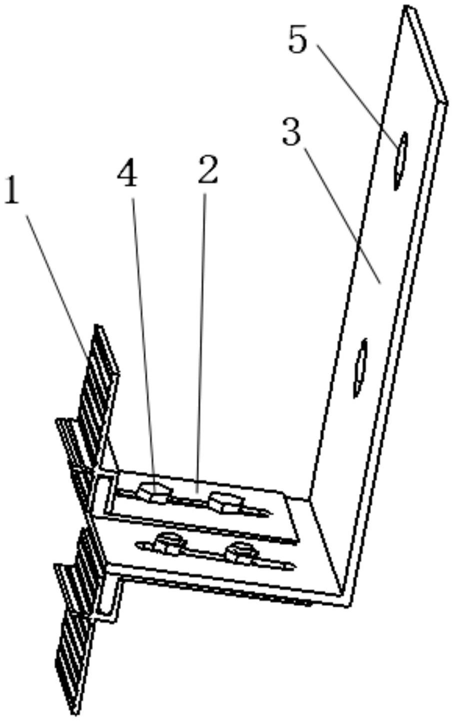
本实用新型提供了一种大理石板锚固件,采用的方案是:包括挂件、调节件和固定件;所述调节件包括调节竖板和调节横板,所述调节横板安装在固定横板上并且两者通过连接件连接,通过调节连接件能够使调节件在固定件上前后移动进而实现调节竖板和固定竖板之间距离的调节;所述挂件包括板身,所述板身具有前板面和后板面,所述板身的前板面设置有凸起的插接部,所述板身的后板面设置有连接部,所述板身通过连接部安装在调节竖板上并可沿调节竖板左右滑动。与墙体能牢固固定,形成第二道安全防护屏障,防止超薄大理石板在粘结胶浆失效的情况下高空坠落伤人,消除重大安全隐患。


