授权公布号:CN108560862B
保温装饰板可调滑动式锚固件
有效
申请
2018-03-11
申请公布
2018-09-21
授权
2023-09-26
预估到期
2038-03-11
| 申请号 | CN201810197840.X |
| 申请日 | 2018-03-11 |
| 申请公布号 | CN108560862A |
| 申请公布日 | 2018-09-21 |
| 授权公布号 | CN108560862B |
| 授权公告日 | 2023-09-26 |
| 分类号 | E04F13/23;E04F13/28;E04F13/076 |
| 分类 | 建筑物; |
| 申请人名称 | 山东国创节能科技股份有限公司 |
| 申请人地址 | 山东省潍坊市昌乐县方山路1601号 |
专利法律状态
2023-09-26
授权
状态信息
授权
2018-10-23
实质审查的生效
状态信息
实质审查的生效;IPC(主分类):E04F13/23;申请日:20180311
2018-09-21
公布
状态信息
公布
摘要
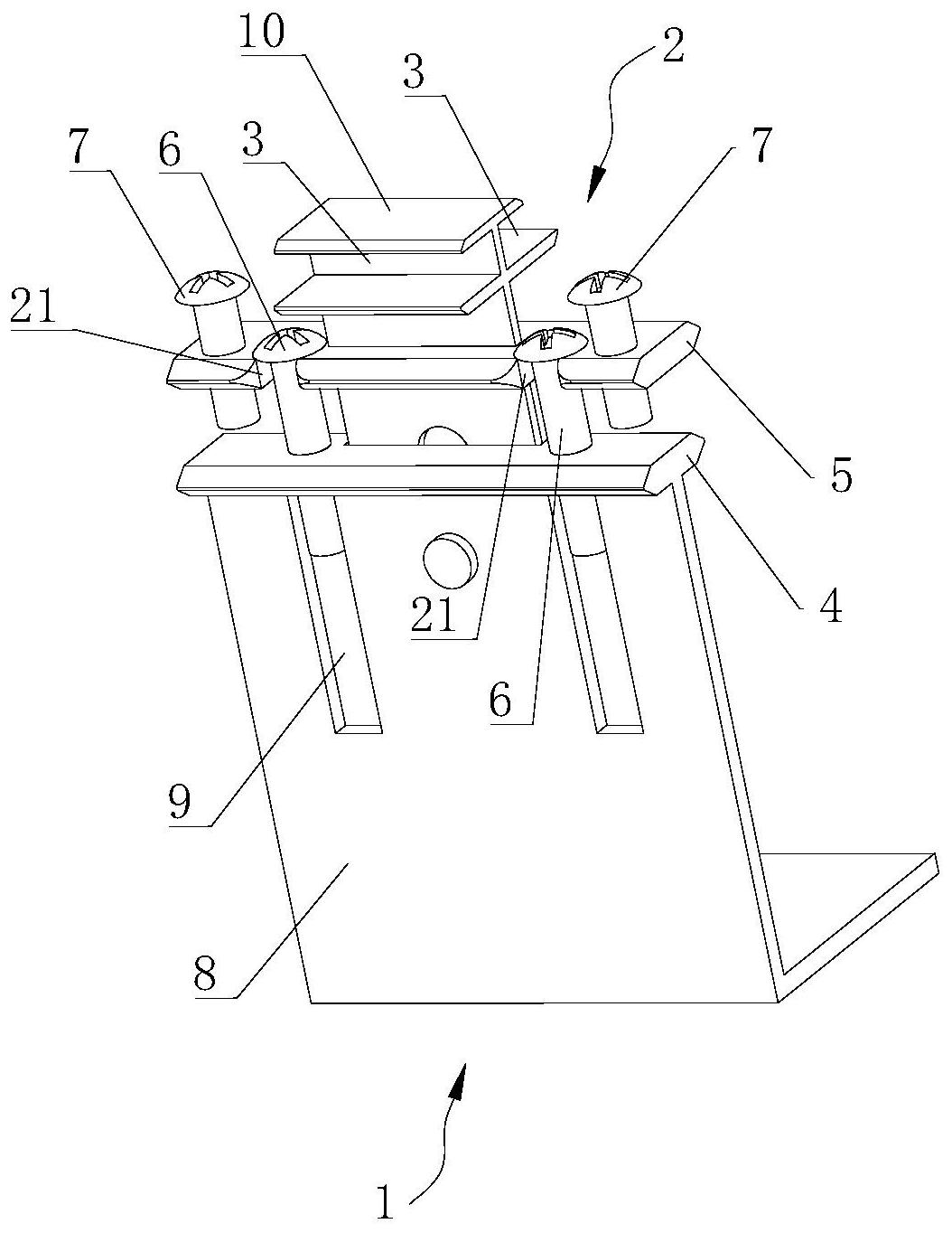
本发明提出了一种保温装饰板可调滑动式锚固件,解决了现有技术中保温装饰板安装后不平整无法进行有效调整的问题。该保温装饰板可调滑动式锚固件包括用于固定于基层上的底座;固定件,所述固定件的外端设有供保温装饰板的饰面板嵌入的扣槽,所述固定件的外端还设有用于调整其沿垂直于基层方向移动的调节机构,所述调节机构将所述底座与固定件紧固为一体。本发明的保温装饰板可调滑动式锚固件结构简单、使用方便,能够对不平整的保温装饰板进行适当调整,最终实现整个墙面的平整,具有很好的实用性。


