授权公布号:CN204558002U
回声古筝
有效
申请
2015-04-14
申请公布
1970-01-01
授权
2015-08-12
预估到期
2025-04-14
| 申请号 | CN201520225293.3 |
| 申请日 | 2015-04-14 |
| 授权公布号 | CN204558002U |
| 授权公告日 | 2015-08-12 |
| 分类号 | G10D1/00;G10D3/02 |
| 分类 | 乐器;声学; |
| 申请人名称 | 江苏大风乐器有限公司 |
| 申请人地址 | 江苏省徐州市沛县张庄镇徐沛路西侧 |
专利法律状态
2016-10-19
专利申请权、专利权的转移
状态信息
专利权的转移;IPC(主分类):G10D1/00;登记生效日:20160923;变更事项:专利权人;变更前:徐宝华;变更后:江苏大风乐器有限公司;变更事项:地址;变更前:221008 江苏省徐州市泉山区都市家园2号楼2606室;变更后:221637 江苏省徐州市沛县张庄镇徐沛路西侧
2015-08-12
授权
状态信息
授权
摘要
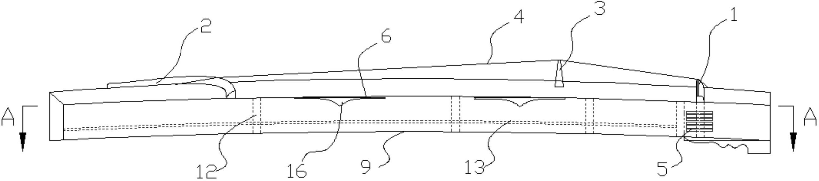
本实用新型公开了一种回声古筝,包括筝箱、前岳山(1)、后岳山(2)、雁柱(3)、弦线(4)和弦钉(5),筝箱由面板(6)、前侧板(7)、后侧板(8)、底板(9)、筝头(10)和筝尾(11)组成,筝箱内设有支撑面板的梁架(12),底板上开有若干发音孔,所述面板上开有两个圆形发音孔(6.1),筝箱内部嵌入具有密集圆孔的蜂窝板(13),底板上开有四个椭圆形发音孔(9.1),蜂窝板上同样开有与底板上发音孔形状相同的四个发音孔(13.1),蜂窝板上的发音孔与底板上的发音孔交错布置。本实用新型在筝箱内嵌入一层蜂窝板蜂,且蜂窝板上的椭圆发音孔与底板发音孔交错,增强了声音的穿透力。


