授权公布号:CN208173211U
一种钢琴踏板
有效
申请
2018-06-11
申请公布
1970-01-01
授权
2018-11-30
预估到期
2028-06-11
| 申请号 | CN201820898550.3 |
| 申请日 | 2018-06-11 |
| 授权公布号 | CN208173211U |
| 授权公告日 | 2018-11-30 |
| 分类号 | G10C3/26 |
| 分类 | 乐器;声学; |
| 申请人名称 | 北京卡丹萨文化艺术有限公司 |
| 申请人地址 | 北京市西城区鲍家街43号 |
专利法律状态
2018-11-30
授权
状态信息
授权
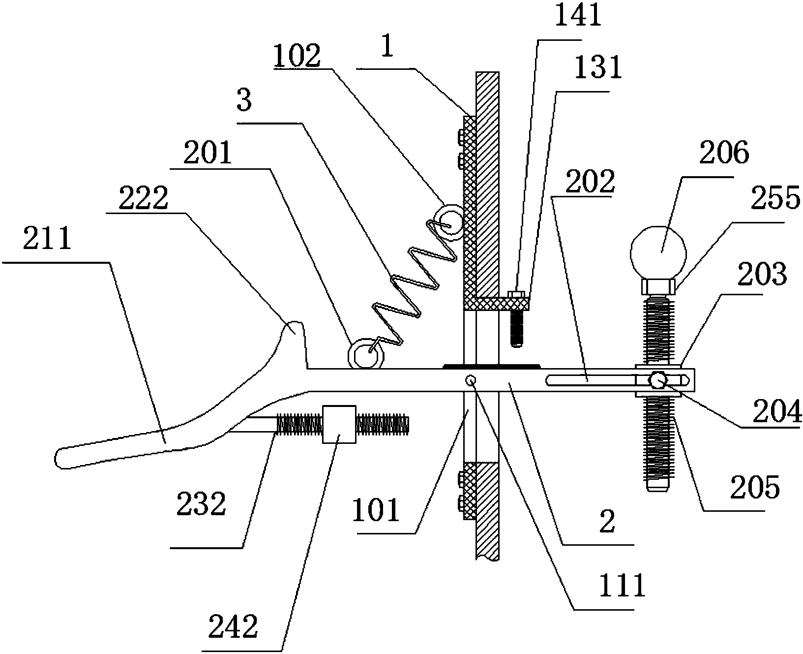
摘要
本实用新型公开了一种钢琴踏板,包括固定于钢琴上的板件,在板件上开设有一通槽,在该通槽处贯穿配合有一板体,板体与通槽之间配合有销轴,在板体的顶部设置一环部,在板件的侧面焊接第一环部,所述环部与所述第一环部之间配合有弹簧,在所述板体的左侧位置处倾斜向下弯曲后形成一脚踏部分,在所述板体的设置一开槽,该开槽位于钢琴的内侧,在所述板体的前、后侧面位置处均设置有配合所述开槽用的滑槽,在所述开槽内设置有一可滑动的块体,块体的顶部开设有螺纹孔,通过所述滑槽配合有螺丝,螺丝旋入所述块体内,通过所述螺纹孔配合有一螺杆,螺杆的上端设置有一支撑在钢琴杠杆下方的球体;本装置可以精确调节位置,实现音准调节。


