授权公布号:CN106975957B
一种双层刀库
有效
申请
2017-05-15
申请公布
2017-07-25
授权
2023-08-15
预估到期
2037-05-15
| 申请号 | CN201710338370.X |
| 申请日 | 2017-05-15 |
| 申请公布号 | CN106975957A |
| 申请公布日 | 2017-07-25 |
| 授权公布号 | CN106975957B |
| 授权公告日 | 2023-08-15 |
| 分类号 | B23Q3/155 |
| 分类 | 机床;不包含在其他类目中的金属加工; |
| 申请人名称 | 北京精雕科技集团有限公司 |
| 申请人地址 | 北京市门头沟区石龙工业区永安路10号 |
专利法律状态
2023-08-15
授权
状态信息
授权
2017-08-18
实质审查的生效
状态信息
实质审查的生效;IPC(主分类):B23Q3/155;申请日:20170515
2017-07-25
公布
状态信息
公布
摘要
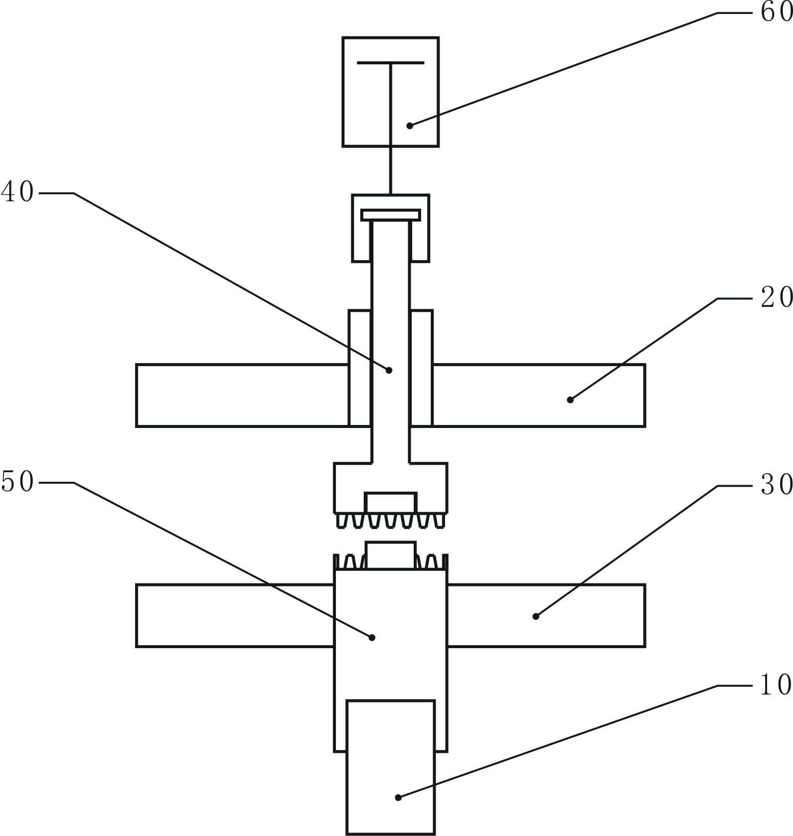
本发明属于数控设备技术领域,特别涉及一种双层刀库。由驱动装置、上刀盘、下刀盘、离合传动装置以及气缸动力装置组成,离合传动装置包括上旋转中心和下旋转中心,下旋转中心为主动部分,上旋转中心为从动部分;上旋转中心与气缸动力装置联接,可在气缸动力装置控制下实现与下旋转中心的分离与配合;上刀盘固定安装于上旋转中心上;下刀盘固定安装于下旋转中心上,并由驱动装置驱动旋转;上刀盘和下刀盘上均设置有供容置刀具的卡刀座。本发明结构紧凑、空间占用小、加工制造方便、成本低、换刀速度快,能够在保证数控机床整体占地面积小的前提下,大幅增加机床所带刀具数目,适用于各类数控机床。


