授权公布号:CN208208311U
一种钢琴制音器
有效
申请
2018-06-19
申请公布
1970-01-01
授权
2018-12-07
预估到期
2028-06-19
| 申请号 | CN201820943907.5 |
| 申请日 | 2018-06-19 |
| 授权公布号 | CN208208311U |
| 授权公告日 | 2018-12-07 |
| 分类号 | G10C3/16;G10C3/00 |
| 分类 | 乐器;声学; |
| 申请人名称 | 北京卡丹萨文化艺术有限公司 |
| 申请人地址 | 北京市西城区鲍家街43号 |
专利法律状态
2018-12-07
授权
状态信息
授权
摘要
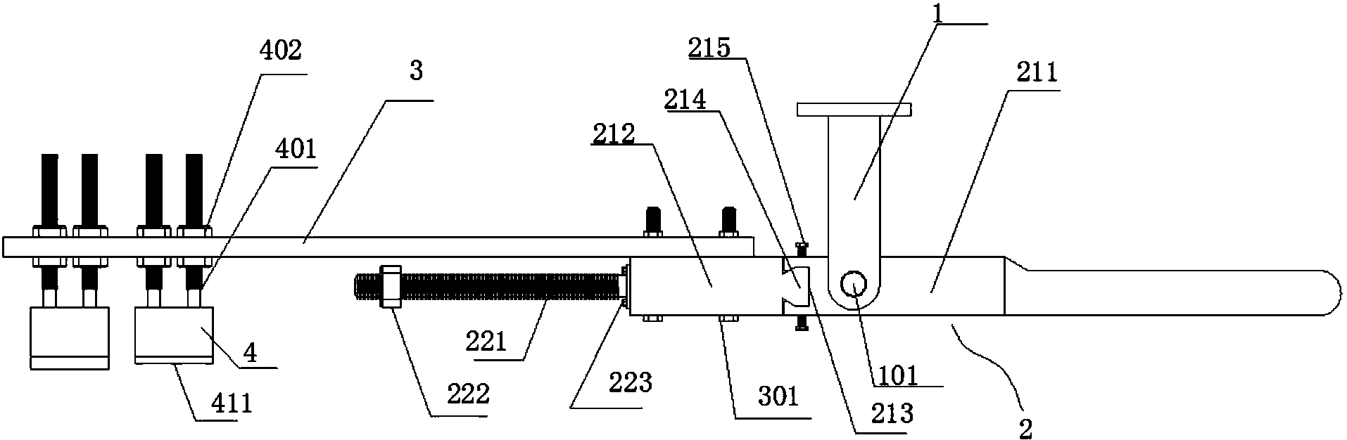
本实用新型公开了一种钢琴制音器,包括固定于钢琴内侧的旋转座,通过所述旋转座配合有一支架杆,支架杆与所述旋转座之间配合有销轴,在所述支架杆的顶部固定有一延伸条,该延伸条与支架杆之间配合有多个螺栓,在延伸条的顶部横向开设有滑槽,在延长条的下方设置有多个止音块,所述止音块的上端具有螺杆,螺杆向上穿过滑槽,单根螺杆上配合有两个螺母,所述延长条被夹设在两个所述螺母之间,在所述止音块的底部胶合固定有一止音毛毡,多块止音毛毡的下端面错位设置;本装置可以使用多块止音毛毡,增加延长寿命。


