授权公布号:CN208141800U
一种钢琴后置手柄
有效
申请
2018-05-30
申请公布
1970-01-01
授权
2018-11-23
预估到期
2028-05-30
| 申请号 | CN201820823941.9 |
| 申请日 | 2018-05-30 |
| 授权公布号 | CN208141800U |
| 授权公告日 | 2018-11-23 |
| 分类号 | G10C3/00;G10C1/00;G10G7/00 |
| 分类 | 乐器;声学; |
| 申请人名称 | 北京卡丹萨文化艺术有限公司 |
| 申请人地址 | 北京市西城区鲍家街43号 |
专利法律状态
2018-11-23
授权
状态信息
授权
摘要
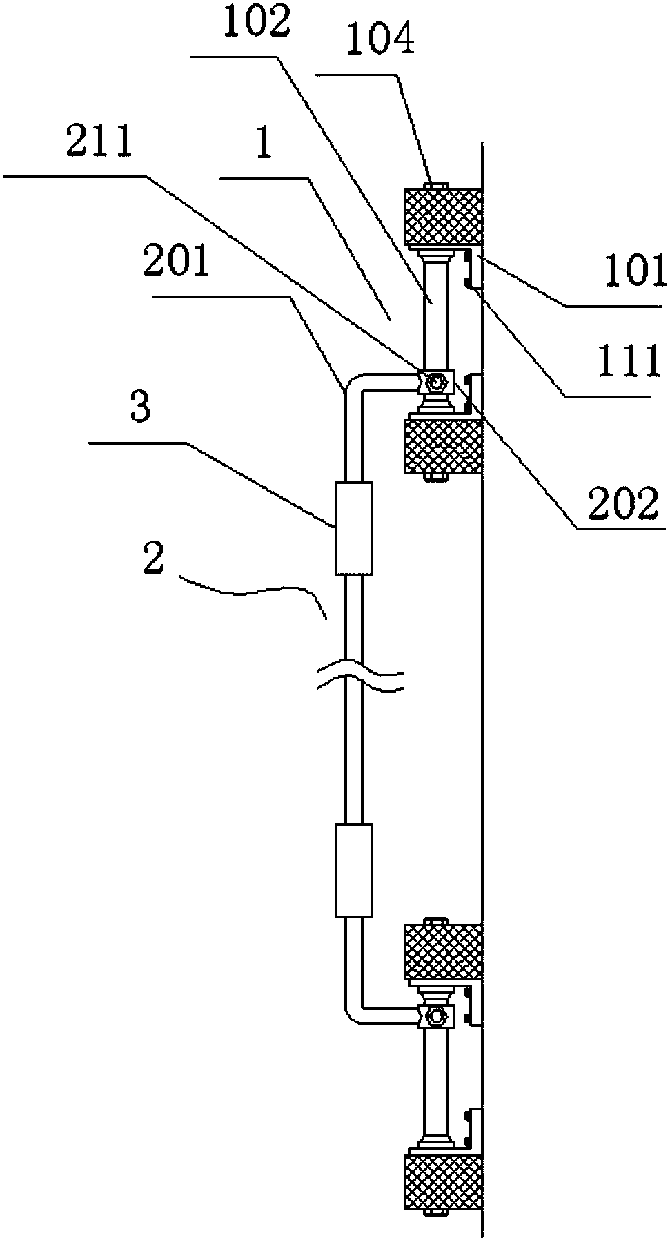
本实用新型公开了一种钢琴后置手柄,包括固定于钢琴后侧两个相邻竖梁之间的手柄组件,所述手柄组件设置有两个,两个所述手柄组件设置于同一水平高度,在两个所述手柄组件连接有手提组件,所述手柄组件包括两个L形的连接件,及配合在两个所述连接件之间的柄部,所述连接件与钢琴的背板之间连接有螺丝,所述柄部的两端均设置有螺纹孔,通过该螺纹孔配合有长螺丝,该长螺丝依序穿过竖梁和连接件后螺旋至所述螺纹孔内,所述手提组件包括一杆件,杆件的两端向着钢琴方向弯曲后焊接一环部,所述环部固定于所述柄部,所述环部与所述柄部之间连接有螺栓;本装置可以方便实现钢琴搬运。


