授权公布号:CN208744306U
一种带有刀库的数控精雕机
有效
申请
2018-07-24
申请公布
1970-01-01
授权
2019-04-16
预估到期
2028-07-24
| 申请号 | CN201821179179.1 |
| 申请日 | 2018-07-24 |
| 授权公布号 | CN208744306U |
| 授权公告日 | 2019-04-16 |
| 分类号 | B23Q3/157 |
| 分类 | 机床;不包含在其他类目中的金属加工; |
| 申请人名称 | 深圳市远洋翔瑞机械有限公司 |
| 申请人地址 | 广东省深圳市坪山区龙田街道金牛东路50号金牛东路北侧与金兰路东侧德菲工业园厂房4楼 |
专利法律状态
2021-06-01
专利申请权、专利权的转移
状态信息
专利权的转移;IPC(主分类):B23Q3/157;专利号:ZL2018211791791;登记生效日:20210519;变更事项:专利权人;变更前权利人:深圳市巨艾伦控股有限公司;变更后权利人:深圳市远洋翔瑞机械有限公司;变更事项:地址;变更前权利人:518000 广东省深圳市坪山区碧岭街道碧岭社区永新路9号西边2300152号101;变更后权利人:518000 广东省深圳市坪山区龙田街道金牛东路50号金牛东路北侧与金兰路东侧德菲工业园厂房4楼
2021-01-22
专利申请权、专利权的转移
状态信息
专利权的转移;IPC(主分类):B23Q3/157;专利号:ZL2018211791791;登记生效日:20210112;变更事项:专利权人;变更前权利人:深圳市远洋翔瑞机械有限公司;变更后权利人:深圳市巨艾伦控股有限公司;变更事项:地址;变更前权利人:518000 广东省深圳市坪山区龙田街道金牛东路50号金牛东路北侧与金兰路东侧德菲工业园厂房4楼;变更后权利人:518000 广东省深圳市坪山区碧岭街道碧岭社区永新路9号西边2300152号101
2019-04-16
实用新型专利权授予
状态信息
授权
摘要
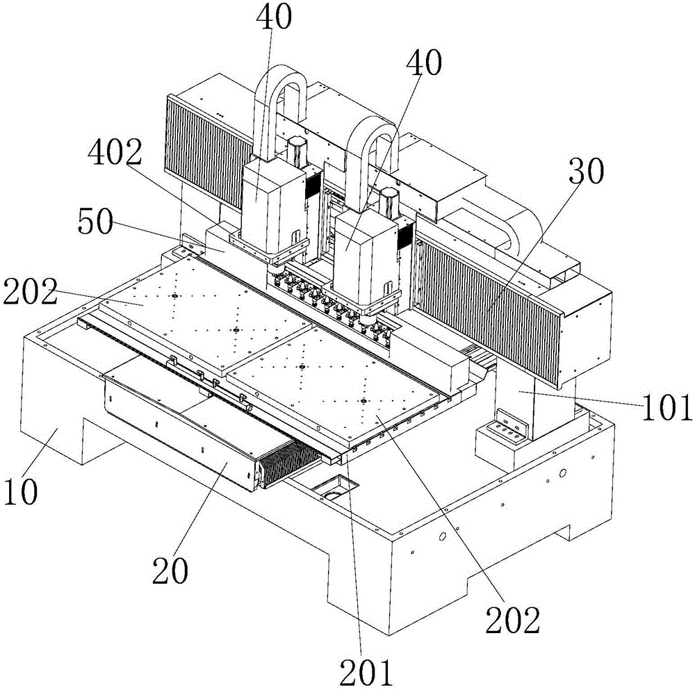
本实用新型公开了一种带有刀库的数控精雕机,涉及数控机床技术领域;包括机床底座、Y轴运动模组、X轴运动模组以及Z轴运动模组;所述的Y轴运动模组固定在机床底座上方,Y轴运动模组上设置有工作平台,且工作平台上方并排设置有两个定位治具;所述的X轴运动模组设置在定位治具上方,且X轴运动模组上并排设置有两个Z轴运动模组,每个Z轴运动模组下方均安装有机床主轴加工组件;所述的工作平台上还设置有刀库组件,且该刀库组件位于定位治具的后方;所述的刀库组件包括刀卡定板、刀库弹片、刀夹、气缸、刀库防护罩以及刀库门;本实用新型的有益效果是:该数控精雕机的刀库组件的安装空间小、刀具多,换刀速度快。


