授权公布号:CN207272819U
一种多主轴自动换刀装置
有效
申请
2017-08-16
申请公布
1970-01-01
授权
2018-04-27
预估到期
2027-08-16
| 申请号 | CN201721023611.3 |
| 申请日 | 2017-08-16 |
| 授权公布号 | CN207272819U |
| 授权公告日 | 2018-04-27 |
| 分类号 | B23Q3/155 |
| 分类 | 机床;不包含在其他类目中的金属加工; |
| 申请人名称 | 深圳市远洋翔瑞机械有限公司 |
| 申请人地址 | 广东省深圳市坪山区龙田街道金牛东路50号金牛东路北侧与金兰路东侧德菲工业园厂房4楼 |
专利法律状态
2021-05-28
专利申请权、专利权的转移
状态信息
专利权的转移;IPC(主分类):B23Q3/155;登记生效日:20210518;变更事项:专利权人;变更前:深圳市巨艾伦控股有限公司;变更后:深圳市远洋翔瑞机械有限公司;变更事项:地址;变更前:518000 广东省深圳市坪山区碧岭街道碧岭社区永新路9号西边2300152号101;变更后:518000 广东省深圳市坪山区龙田街道金牛东路50号金牛东路北侧与金兰路东侧德菲工业园厂房4楼
2021-01-26
专利申请权、专利权的转移
状态信息
专利权的转移;IPC(主分类):B23Q3/155;登记生效日:20210113;变更事项:专利权人;变更前:深圳市远洋翔瑞机械有限公司;变更后:深圳市巨艾伦控股有限公司;变更事项:地址;变更前:518000 广东省深圳市坪山新区坪山办事处碧岭社区石夹路11号2号厂房;变更后:518000 广东省深圳市坪山区碧岭街道碧岭社区永新路9号西边2300152号101
2018-04-27
授权
状态信息
授权
摘要
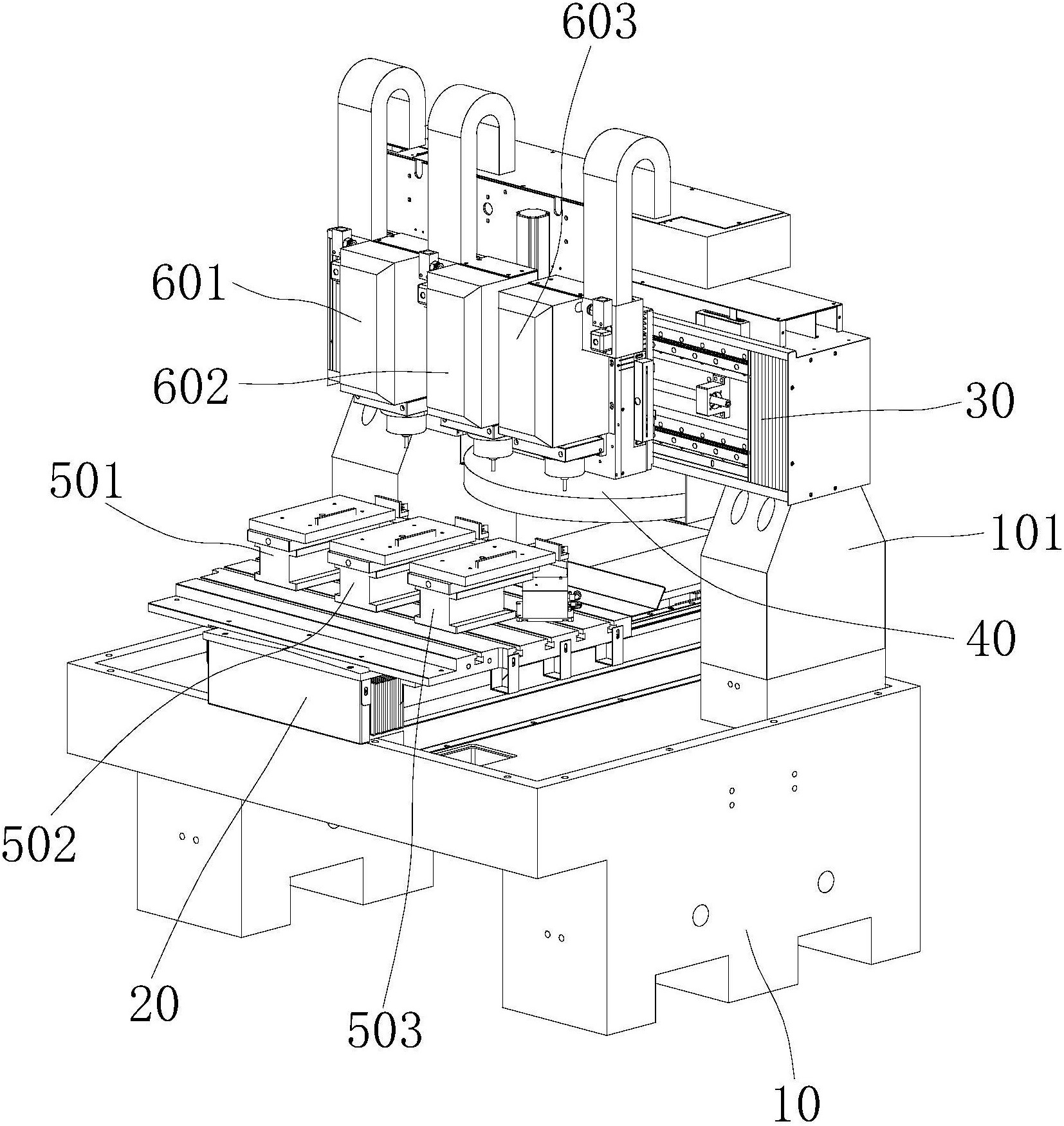
本实用新型公开了一种多主轴自动换刀装置,涉及数控机床技术领域;包括基座、Y轴工作台、X轴运动模组、Z轴主轴加工组件、刀库以及Z轴定位治具;Y轴工作台位于基座上,Z轴定位治具包括Z1轴定位治具、Z2轴定位治具以及Z3轴定位治具,且Z1轴定位治具、Z2轴定位治具以及Z3轴定位治具并排沿X轴方向设置在Y轴工作台上;X轴运动模组设置于基座后端,Z轴主轴加工组件包括Z1主轴加工组件、Z2主轴加工组件以及Z3主轴加工组件;刀库设置在X轴运动模组下方位置;本实用新型的有益效果是:能实现自动换刀,便于自动化控制,工人维护修理,大大降低工人的劳动强度及有效的提高了生产效率。


