授权公布号:CN204673349U
一种机床自动上下料机构中的旋转装置
失效
申请
2015-03-13
申请公布
1970-01-01
授权
2015-09-30
预估到期
2025-03-13
| 申请号 | CN201520145247.2 |
| 申请日 | 2015-03-13 |
| 授权公布号 | CN204673349U |
| 授权公告日 | 2015-09-30 |
| 分类号 | B23Q7/00 |
| 分类 | 机床;不包含在其他类目中的金属加工; |
| 申请人名称 | 深圳市远洋翔瑞机械有限公司 |
| 申请人地址 | 广东省深圳市坪山区龙田街道金牛东路50号金牛东路北侧与金兰路东侧德菲工业园厂房4楼 |
专利法律状态
2024-03-22
专利权的终止
状态信息
未缴年费专利权终止;IPC(主分类):B23Q7/00;申请日:20150313;授权公告日:20150930
2021-05-28
专利申请权、专利权的转移
状态信息
专利权的转移;IPC(主分类):B23Q7/00;登记生效日:20210518;变更事项:专利权人;变更前:深圳市巨艾伦控股有限公司;变更后:深圳市远洋翔瑞机械有限公司;变更事项:地址;变更前:518000 广东省深圳市坪山区碧岭街道碧岭社区永新路9号西边2300152号101;变更后:518000 广东省深圳市坪山区龙田街道金牛东路50号金牛东路北侧与金兰路东侧德菲工业园厂房4楼
2021-02-02
专利申请权、专利权的转移
状态信息
专利权的转移;IPC(主分类):B23Q7/00;登记生效日:20210121;变更事项:专利权人;变更前:深圳市远洋翔瑞机械有限公司;变更后:深圳市巨艾伦控股有限公司;变更事项:地址;变更前:518000 广东省深圳市坪山新区坪山办事处碧岭社区石夹路11号2号厂房;变更后:518000 广东省深圳市坪山区碧岭街道碧岭社区永新路9号西边2300152号101
2017-06-30
专利权人的姓名或者名称、地址的变更
状态信息
专利权人的姓名或者名称、地址的变更;IPC(主分类):B23Q7/00;变更事项:专利权人;变更前:深圳市远洋翔瑞机械股份有限公司;变更后:深圳市远洋翔瑞机械有限公司;变更事项:地址;变更前:518000 广东省深圳市坪山新区坪山办事处碧岭社区石夹路11号;变更后:518000 广东省深圳市坪山新区坪山办事处碧岭社区石夹路11号2号厂房
2015-09-30
授权
状态信息
授权
摘要
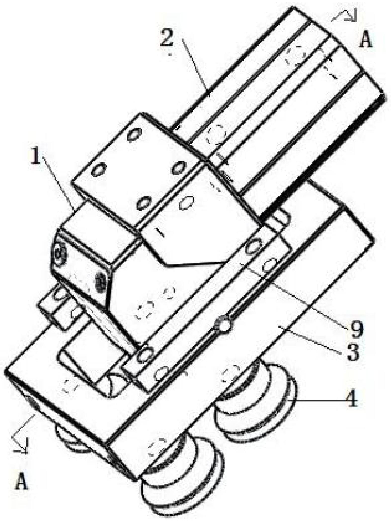
本实用新型公开了一种机床自动上下料机构中的旋转装置,包括设有内腔的旋转装置本体、设置在该旋转装置本体上的气缸、吸盘安装架和设于该吸盘安装架上的吸盘;所述旋转装置本体的内腔内设有连接吸盘安装架的齿轮和与该齿轮啮合的齿条;所述气缸的活塞连接上述齿条并可驱动齿条移动,进一步可驱动上述齿轮旋转,同时齿轮带动吸盘安装架和吸盘旋转。该种机床自动上下料机构中的旋转装置具有结构简单、性能稳定、生产成本低、资金投入小、便于推广应用等现有技术所不具备的优点。


