授权公布号:CN215703368U
乳胶垫辊组及喷淋装置
有效
申请
2021-10-08
申请公布
1970-01-01
授权
2022-02-01
预估到期
2031-10-08
| 申请号 | CN202122423359.8 |
| 申请日 | 2021-10-08 |
| 授权公布号 | CN215703368U |
| 授权公告日 | 2022-02-01 |
| 分类号 | B29C35/16;B08B3/04;B08B3/02 |
| 分类 | 塑料的加工;一般处于塑性状态物质的加工; |
| 申请人名称 | 荆州市赛泰软体家具材料有限公司 |
| 申请人地址 | 湖北省荆州市江陵县六合垸管理区工业园四分场 |
专利法律状态
2022-02-01
授权
状态信息
授权
摘要
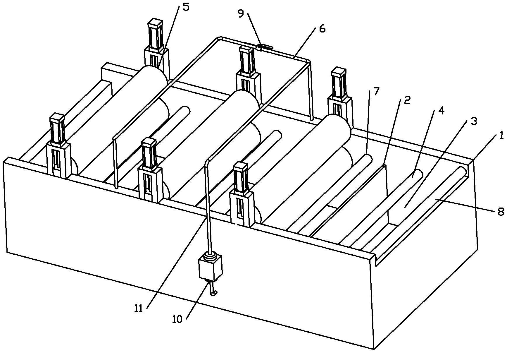
本实用新型涉及乳胶垫辊组及喷淋装置,包括水洗池,所述水洗池呈矩形,所述水洗池前端设置有隔板,所述隔板与水洗池前端内壁四周形成清水池,所述清水池上方设置有压辊,所述压辊转动设置于水洗池两长边,所述压辊下边缘没过清水池水平面,所述清水池外设置有挤压辊组,所述挤压辊组转动设置于水洗池内,所述挤压辊组与压辊平行,所述挤压辊组间隔布置,相邻所述挤压辊组之间的上方设置有喷淋管,所述喷淋管呈U型盘旋设置于水洗池上方,所述喷淋管与水洗池两长边固定连接。本实用新型旨在提供一种结构简单,既能快速降温又能有效清洗的乳胶垫辊组及喷淋装置。


