授权公布号:CN215893117U
一种乳胶垫烘箱固定装置
有效
申请
2021-09-30
申请公布
1970-01-01
授权
2022-02-22
预估到期
2031-09-30
| 申请号 | CN202122388827.2 |
| 申请日 | 2021-09-30 |
| 授权公布号 | CN215893117U |
| 授权公告日 | 2022-02-22 |
| 分类号 | F26B15/14;F26B21/00;F26B25/00;F26B25/02 |
| 分类 | 干燥; |
| 申请人名称 | 荆州市赛泰软体家具材料有限公司 |
| 申请人地址 | 湖北省荆州市江陵县六合垸管理区工业园四分场 |
专利法律状态
2022-02-22
授权
状态信息
授权
摘要
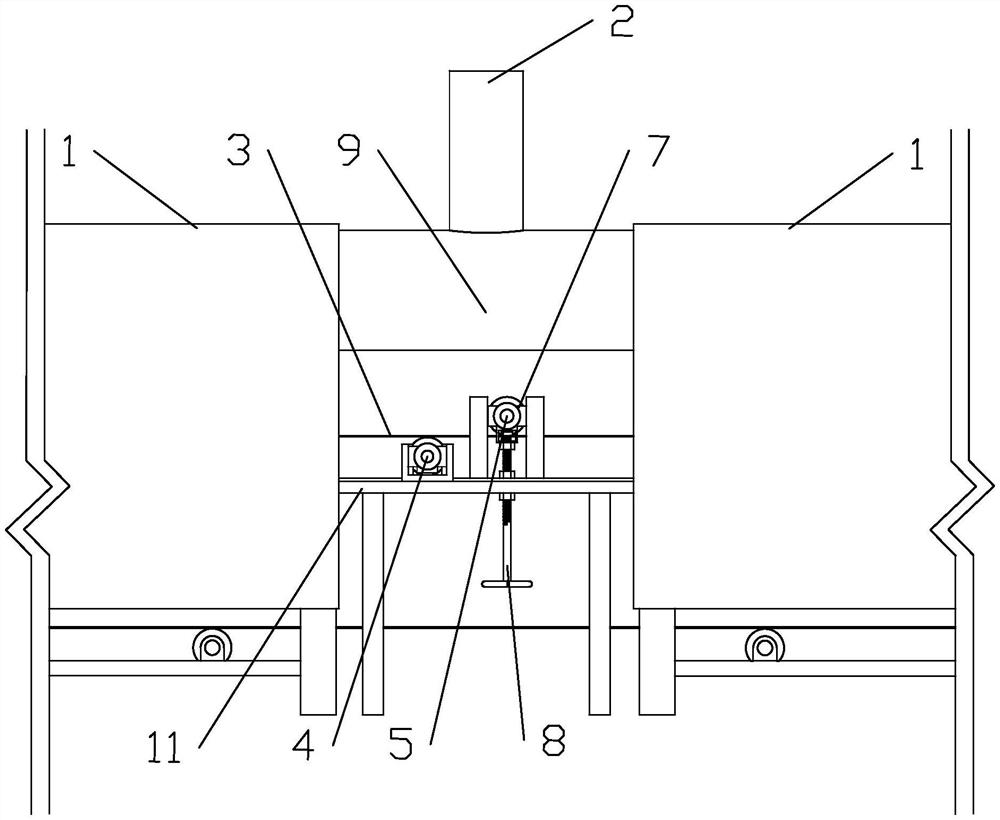
本实用新型涉及一种乳胶垫烘箱固定装置,包括蒸汽烘箱、蒸汽管道,所述蒸汽管道位于蒸汽烘箱之间的上方,所述蒸汽管道下方两端与两侧的蒸汽烘箱各自连通,所述蒸汽管道下方设置有传送带,所述传送带依次穿过蒸汽烘箱,所述蒸汽烘箱之间的传送带下方设置有传动辊,所述传动辊转动设置于蒸汽烘箱之间的固定杆上,所述传送带的上方设置有压实辊,所述压实辊与传动辊平行,所述压实辊转动设置于蒸汽烘箱之间,所述压实辊可相对于传送带上下垂直滑动并固定。本实用新型旨在提供一种结构简单且能够将乳胶垫固定于传送带上的乳胶垫烘箱固定装置。


