授权公布号:CN215703985U
紫外线定型装置
有效
申请
2021-10-08
申请公布
1970-01-01
授权
2022-02-01
预估到期
2031-10-08
| 申请号 | CN202122413923.8 |
| 申请日 | 2021-10-08 |
| 授权公布号 | CN215703985U |
| 授权公告日 | 2022-02-01 |
| 分类号 | B29C48/90;B29C71/04;A61L2/10 |
| 分类 | 塑料的加工;一般处于塑性状态物质的加工; |
| 申请人名称 | 荆州市赛泰软体家具材料有限公司 |
| 申请人地址 | 湖北省荆州市江陵县六合垸管理区工业园四分场 |
专利法律状态
2022-02-01
授权
状态信息
授权
摘要
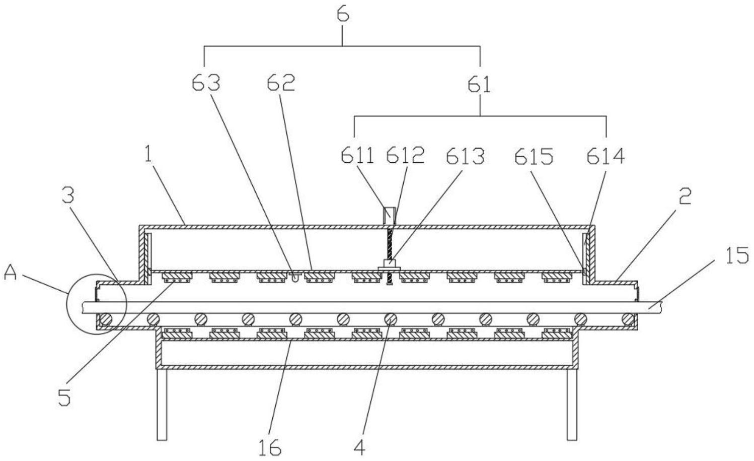
本实用新型涉及乳胶垫定型设备技术领域,公开了一种紫外线定型装置,包括紫外线定型箱,所述紫外线定型箱的两端分别设有进料口和出料口,所述紫外线定型箱内设有贯穿进料口和出料口的乳胶垫输送装置,所述紫外线定型箱内部还设有多个紫外线灯,各紫外线灯均与乳胶垫输送装置相对,所述紫外线灯通过高度调节装置安装在紫外线定型箱内,所述进料口和出料口均设于防尘装置,本实用新型通过高度调节装置调节紫外线灯的高度,使得紫外线灯对不同厚度的乳胶垫的照射距离始终保持一致,从而保证不同厚度的乳胶垫的杀菌定型效果稳定,产品质量更高;另外,防尘装置的设置,使设备具有较好的防尘效果和安全性能。


