授权公布号:CN218804018U
一种地板贴膜机前端对齐装置
有效
申请
2022-10-31
申请公布
1970-01-01
授权
2023-04-07
预估到期
2032-10-31
| 申请号 | CN202222889021.6 |
| 申请日 | 2022-10-31 |
| 授权公布号 | CN218804018U |
| 授权公告日 | 2023-04-07 |
| 分类号 | B29C63/02;B65H5/22 |
| 分类 | 塑料的加工;一般处于塑性状态物质的加工; |
| 申请人名称 | 江苏博大新材料科技股份有限公司 |
| 申请人地址 | 江苏省常州市武进区横林镇崔桥村 |
专利法律状态
2023-04-07
授权
状态信息
授权
摘要
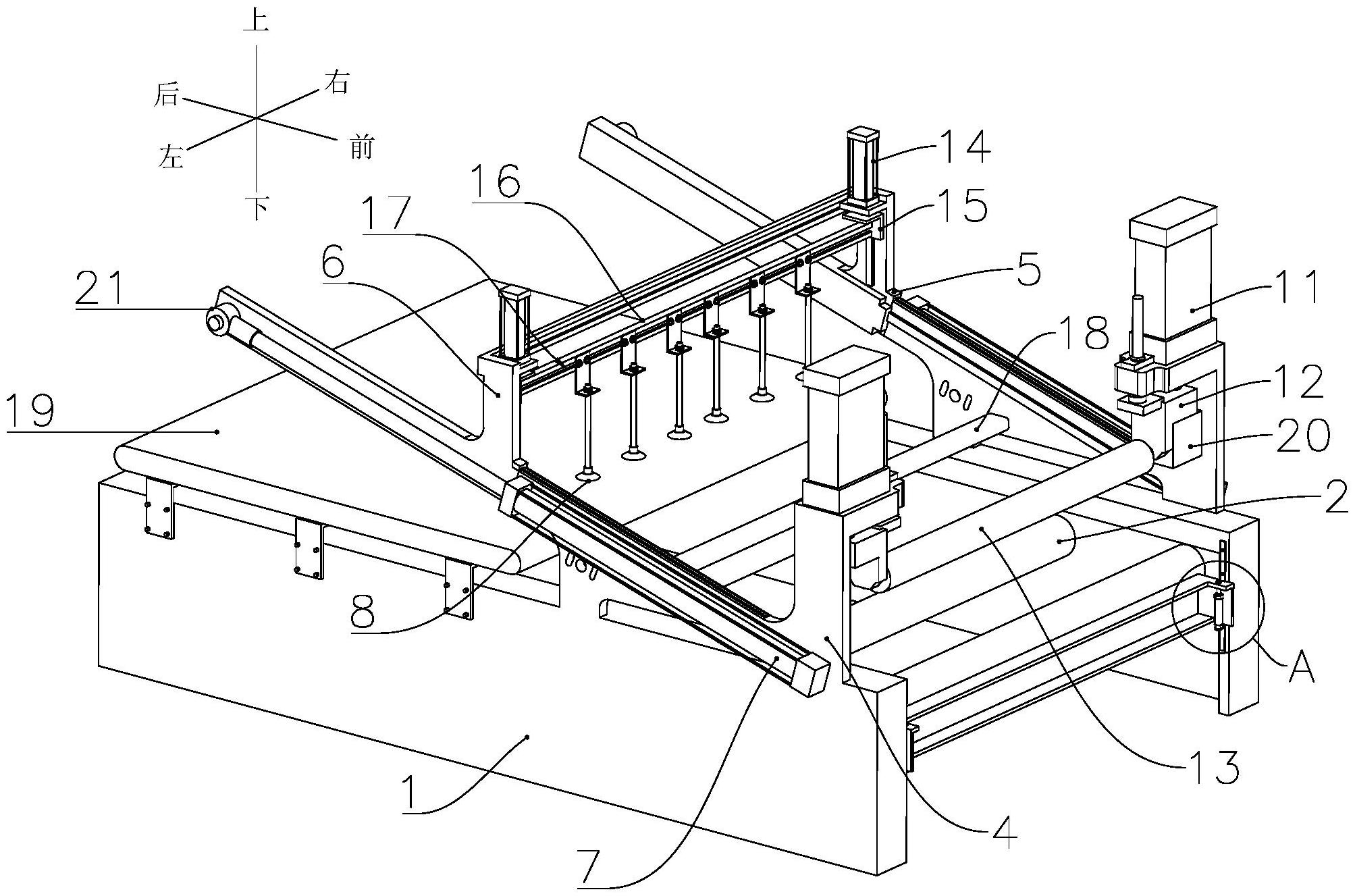
本实用新型涉及地板加工生产领域,尤其是一种地板贴膜机前端对齐装置,地板在生产过程中为了美观和强化会对地板进行贴皮,再贴皮前需要将皮膜覆盖在地板上,现有的贴膜机在贴膜时往往无法做到皮膜与地板对齐,影响贴皮效果,为了解决上述问题本实用新型提供一种地板贴膜机前端对齐装置,包括机架和传动辊,所述机架前端设置有伸缩挡板,所述机架顶部设置有一对连接架,所述连接架一端通过滑块滑动连接有倾斜的吸盘架,所述连接架的连接臂外侧设置有用于推拉吸盘架的倾斜气泵,所述吸盘架上安装有吸盘,本实用新型通过倾斜设置的吸盘架和连接架带动皮膜下落至地板上,同时在机架前端设置伸缩挡板用对齐皮膜与地板,能够显著地提高生产效率,减少产品次品率。


