授权公布号:CN217942228U
一种亚克力激光切割装置
有效
申请
2022-07-13
申请公布
1970-01-01
授权
2022-12-02
预估到期
2032-07-13
| 申请号 | CN202221807480.9 |
| 申请日 | 2022-07-13 |
| 授权公布号 | CN217942228U |
| 授权公告日 | 2022-12-02 |
| 分类号 | B23K26/38;B23K26/402;B23K26/70 |
| 分类 | 机床;不包含在其他类目中的金属加工; |
| 申请人名称 | 广东东华光电科技有限公司 |
| 申请人地址 | 广东省东莞市厚街镇汀山广场北三路3号 |
专利法律状态
2022-12-02
授权
状态信息
授权
摘要
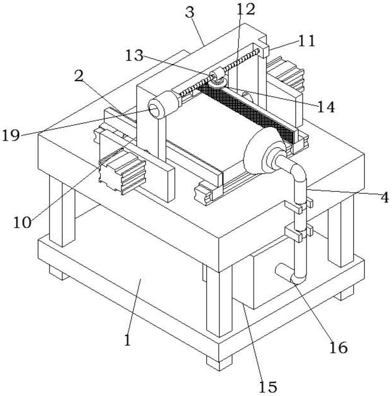
本实用新型公开了一种亚克力激光切割装置,包括一结构主体,所述结构主体包括工作台、设置于所述工作台上的固定机构、切割机构以及吸尘机构;所述固定机构包括一组滑轨,两个所述滑轨上端面均滑动有滑块,所述滑块上端面连接有夹持板,所述夹持板外侧设置有安装座,所述安装座外侧壁固定设置有气缸,所述气缸的输出轴贯穿所述安装座且与所述夹持板相连接;所述切割机构包括安装架,所述安装架前端面设置有一组安装板,两个所述安装板之间设置有螺杆以及螺纹连接与所述螺杆上的丝杆套,所述丝杆套底面相连接的激光切割机;所述吸尘机构包括吸尘器,所述吸尘器的输出端连接有导管,所述导管另一端连接有输送管,所述输送管的输出端连接有吸尘罩。


