授权公布号:CN216736178U
一种便于清洁维护的油类灌装机
有效
申请
2021-12-02
申请公布
1970-01-01
授权
2022-06-14
预估到期
2031-12-02
| 申请号 | CN202123010494.6 |
| 申请日 | 2021-12-02 |
| 授权公布号 | CN216736178U |
| 授权公告日 | 2022-06-14 |
| 分类号 | B65G45/18;B65G45/22;B65G45/26;B67C3/30 |
| 分类 | 输送;包装;贮存;搬运薄的或细丝状材料; |
| 申请人名称 | 河北尚世润滑油科技有限公司 |
| 申请人地址 | 河北省邯郸市丛台区中华北大街702号天琴大厦4层A06号 |
专利法律状态
2022-06-14
授权
状态信息
授权
摘要
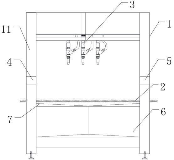
一种便于清洁维护的油类灌装机,包括机体,所述机体上部设置有灌装头,灌装头下方设置有输送带,机体还包括有四根支撑柱,分别位于机体的四个角,机体两侧的支撑柱之间分别设有喷液组件和清洗组件,输送带设置在喷液组件和清洗组件的下方,喷液组件和清洗组件可以在控制中心的调控下沿支撑柱上下滑动。本实用新型本实用新型设有喷液组件和清洗组件,喷液组件可以喷出清水、除油剂或者消毒液,然后利用清洗组件上的毛刷或者滚筒刷对输送带进行清洁;本实用新型下部还设置有收集板、收集槽和集水箱,用以收集清洗输送带流下的污水。


