授权公布号:CN216808104U
一种防泄漏灌装机
有效
申请
2021-12-02
申请公布
1970-01-01
授权
2022-06-24
预估到期
2031-12-02
| 申请号 | CN202123004895.0 |
| 申请日 | 2021-12-02 |
| 授权公布号 | CN216808104U |
| 授权公告日 | 2022-06-24 |
| 分类号 | B67C3/30 |
| 分类 | 开启或封闭瓶子、罐或类似的容器;液体的贮运; |
| 申请人名称 | 河北尚世润滑油科技有限公司 |
| 申请人地址 | 河北省邯郸市丛台区中华北大街702号天琴大厦4层A06号 |
专利法律状态
2022-06-24
授权
状态信息
授权
摘要
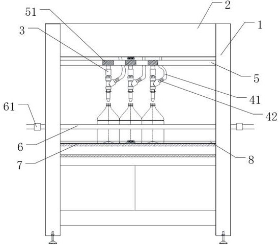
一种防泄漏灌装机,包括机体,所述机体上部装有储液箱,储液箱连接有输送管,输送管输送液体进入灌装头,输送管与灌装头的输液口相连,输液口位于灌装头的侧面外壁上,灌装头上方固定连接有调节板,调节板内部有调控中心,灌装头内部中心位置有一根连接杆,连接杆顶部与调控中心内部的连接块固定连接,调控中心通过控制连接块调节灌装头出液流量,用以在注液桶中准确灌装。本实用新型利用定位组件和固定杆用于稳定注液桶,防止在传送过程中注料桶易翻到使油料泄漏;利用密封结构和推液柱将喷嘴内残留的液体完全推入进注液桶,防止液体滴落泄漏;通过调控中心调节第一限流板和第二限流板通孔重合的大小,限制灌装液体的流速,防止液体喷溅泄漏。


