授权公布号:CN212826791U
一种条板弯卷机
有效
申请
2020-07-15
申请公布
1970-01-01
授权
2021-03-30
预估到期
2030-07-15
| 申请号 | CN202021383799.4 |
| 申请日 | 2020-07-15 |
| 授权公布号 | CN212826791U |
| 授权公告日 | 2021-03-30 |
| 分类号 | B29C53/04 |
| 分类 | 塑料的加工;一般处于塑性状态物质的加工; |
| 申请人名称 | 广东顺德博舍环保家具股份有限公司 |
| 申请人地址 | 广东省佛山市顺德区大良五沙居委会顺昌路5号之二 |
专利法律状态
2021-03-30
授权
状态信息
授权
摘要
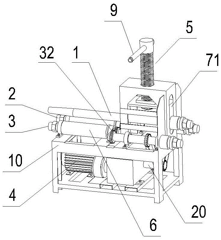
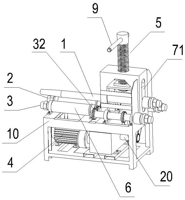
本实用新型公开一种条板弯卷机,其特征在于,包括机架、上压辊、第一、二下压辊、旋转驱动机构、丝杆螺母机构,所述丝杆螺母机构连接上压辊并驱动上压辊垂直移动,所述旋转驱动机构连接第一、二下压辊并驱动第一、二下压辊同向旋转,所述上压辊、第一、二下压辊呈品字形设置。本实用新型能将塑料的仿木板材卷成圆弧状,代替人工制作,具有省时省力等优点。


