授权公布号:CN217553061U
一种仿木家具热塑挤出设备
有效
申请
2022-07-02
申请公布
1970-01-01
授权
2022-10-11
预估到期
2032-07-02
| 申请号 | CN202221688910.X |
| 申请日 | 2022-07-02 |
| 授权公布号 | CN217553061U |
| 授权公告日 | 2022-10-11 |
| 分类号 | B29C48/151;B29C48/285;B29C48/395;B29C48/793;B29C48/87;B29C48/92 |
| 分类 | 塑料的加工;一般处于塑性状态物质的加工; |
| 申请人名称 | 广东顺德博舍环保家具股份有限公司 |
| 申请人地址 | 广东省佛山市顺德区大良五沙居委会顺昌路5号之二 |
专利法律状态
2022-10-11
授权
状态信息
授权
摘要
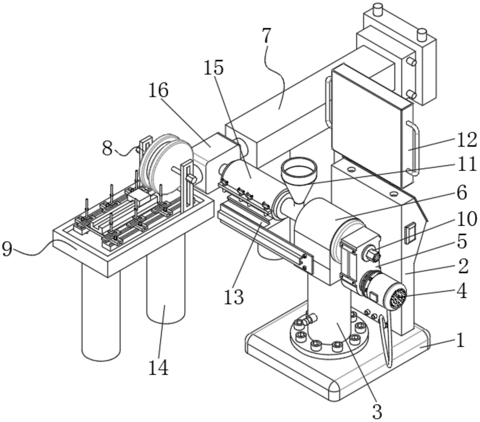
本实用新型公开了一种仿木家具热塑挤出设备,包括押出机,所述押出机包括底座、加料筒、挤出筒,所述挤出筒内设置电加热器及挤出螺杆,还包括铝管加料机构,调节机构,冷却成型机构,混合筒,所述混合筒设置第一入口、第二入口、混合出口,所述第一入口连接铝管加料机构、所述第二入口连接挤出筒的出口,本实用新型涉及仿木家具生产设备技术领域;该仿木家具热塑挤出设备,通过棒芯加热箱内部驱动机构将铝管推入混合筒的内部与聚苯乙烯树脂混合在一起,混合后的原料通过定型盘进行挤压,挤压后的原料进入上模板和下模板中,通过上模板和下模板进行塑性,并通过冷却机座和冷却槽的内部的冷却水对塑性后的原料进行冷却凝固,得到成品。


