授权公布号:CN217476544U
一种仿木成型设备的热挤送料装置
有效
申请
2022-07-02
申请公布
1970-01-01
授权
2022-09-23
预估到期
2032-07-02
| 申请号 | CN202221688956.1 |
| 申请日 | 2022-07-02 |
| 授权公布号 | CN217476544U |
| 授权公告日 | 2022-09-23 |
| 分类号 | B29C48/18 |
| 分类 | 塑料的加工;一般处于塑性状态物质的加工; |
| 申请人名称 | 广东顺德博舍环保家具股份有限公司 |
| 申请人地址 | 广东省佛山市顺德区大良五沙居委会顺昌路5号之二 |
专利法律状态
2022-09-23
授权
状态信息
授权
摘要
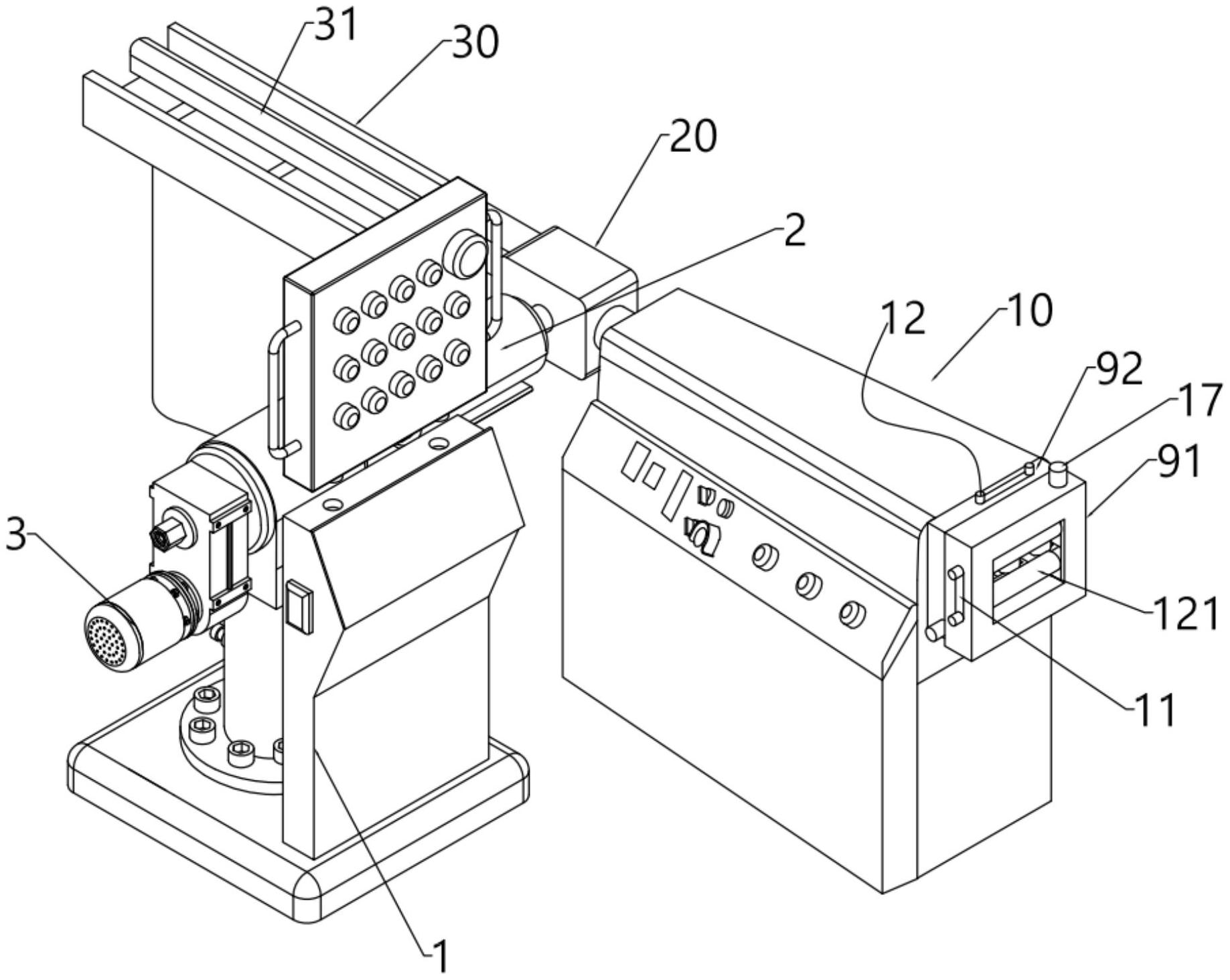
本实用新型公开了一种仿木成型设备的热挤送料装置,包括押出机,所述押出机包括基座、机筒、料斗、电机,所述电机驱动螺杆在机筒内旋转,其特征在于:还包括芯管加热装置、混合共挤室,混合共挤室设置两个入口分别连接机筒出料口、芯管加热装置的出管口,经过芯管加热装置加热软化的铝管进入混合共挤室后,从机筒出料口挤出的聚苯乙烯树脂将芯管外壁包裹粘合;所述芯管加热装置包括加热箱、芯管输送装置,所述芯管输送装置用于将铝管匀速通过加热箱,所述加热箱内回字形设置多条电热棒将铝管包围。本实用新型将押出机的聚苯乙烯树脂与加热的铝管在混合共挤室混合共挤,解决目前仿木棒件刚性不足的问题。


