授权公布号:CN213355598U
砂浆移动罐
有效
申请
2020-08-14
申请公布
1970-01-01
授权
2021-06-04
预估到期
2030-08-14
| 申请号 | CN202021702862.6 |
| 申请日 | 2020-08-14 |
| 授权公布号 | CN213355598U |
| 授权公告日 | 2021-06-04 |
| 分类号 | B65D88/66 |
| 分类 | 输送;包装;贮存;搬运薄的或细丝状材料; |
| 申请人名称 | 北京京城久筑节能科技有限公司 |
| 申请人地址 | 北京市房山区琉璃河镇东南吕村村委会东75米 |
专利法律状态
2021-06-04
授权
状态信息
授权
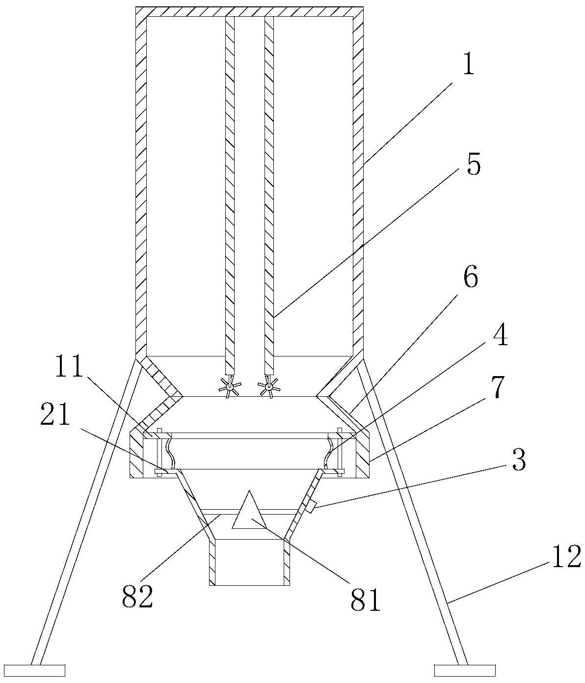
摘要
本实用新型提供一种砂浆移动罐,该砂浆移动罐包括罐体(1)、位于所述罐体内的进料管(5)和位于所述罐体下方的下料锥体(2),所述下料锥体的外壁上设有振动下料装置(3),所述罐体的底部与所述下料锥体的顶部通过柔性连接件(4)密封连接,以使得所述振动下料装置带动所述下料锥体振动;所述进料管的出口端设有下料外散装置,该下料外散装置能够将所述进料管出口端的物料向其周围分散。本实用新型的振动下料装置只需带动下料锥体振动即可,只需较小功率的振动下料装置就能获得明显的振动效果;同时,在进料管的出口端设有下料外散装置,该下料外散装置能够降低起拱频率,配合柔性连接件,进一步提升出料效果。


