授权公布号:CN215624973U
一种可改变包装箱传输方向的旋转装置及生产线
有效
申请
2021-08-12
申请公布
1970-01-01
授权
2022-01-25
预估到期
2031-08-12
| 申请号 | CN202121887528.7 |
| 申请日 | 2021-08-12 |
| 授权公布号 | CN215624973U |
| 授权公告日 | 2022-01-25 |
| 分类号 | B65G47/22;B65G43/08 |
| 分类 | 输送;包装;贮存;搬运薄的或细丝状材料; |
| 申请人名称 | 北京兆信信息技术股份有限公司 |
| 申请人地址 | 北京市昌平区沙河镇能源东路1号院1号楼7层1单元702-2 |
专利法律状态
2022-01-25
授权
状态信息
授权
摘要
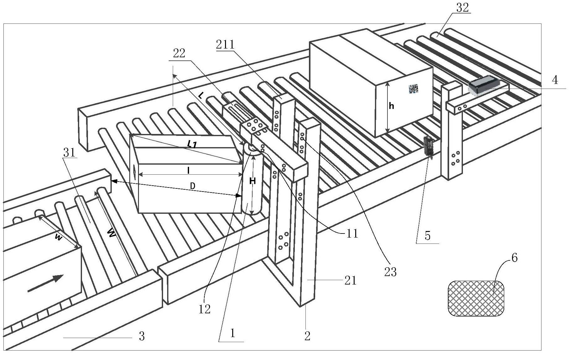
一种可改变包装箱传输方向的旋转装置及生产线,所述旋转装置包括与传送带互相垂直的旋转立式滚筒,所述旋转装置可在包装箱传送过程中按照预设方向旋转包装箱在传送带上的放置方向,使具有赋码信息的一侧可旋转至垂直于传送方向的一侧,安装有所述旋转装置的生产线可将识读采集设备安装于传送带旁侧设置,使得所述识读采集设备可垂直识读所述赋码信息,从而提高数码识读率。


