授权公布号:CN214577017U
一种端盖式滚刀防松装置
有效
申请
2021-03-26
申请公布
1970-01-01
授权
2021-11-02
预估到期
2031-03-26
| 申请号 | CN202120623703.5 |
| 申请日 | 2021-03-26 |
| 授权公布号 | CN214577017U |
| 授权公告日 | 2021-11-02 |
| 分类号 | E21D9/06;E21F17/00 |
| 分类 | 土层或岩石的钻进;采矿; |
| 申请人名称 | 武汉恒立工程钻具股份有限公司 |
| 申请人地址 | 湖北省武汉市东湖新技术开发区财富二路5号(自贸区武汉片区) |
专利法律状态
2021-11-02
授权
状态信息
授权
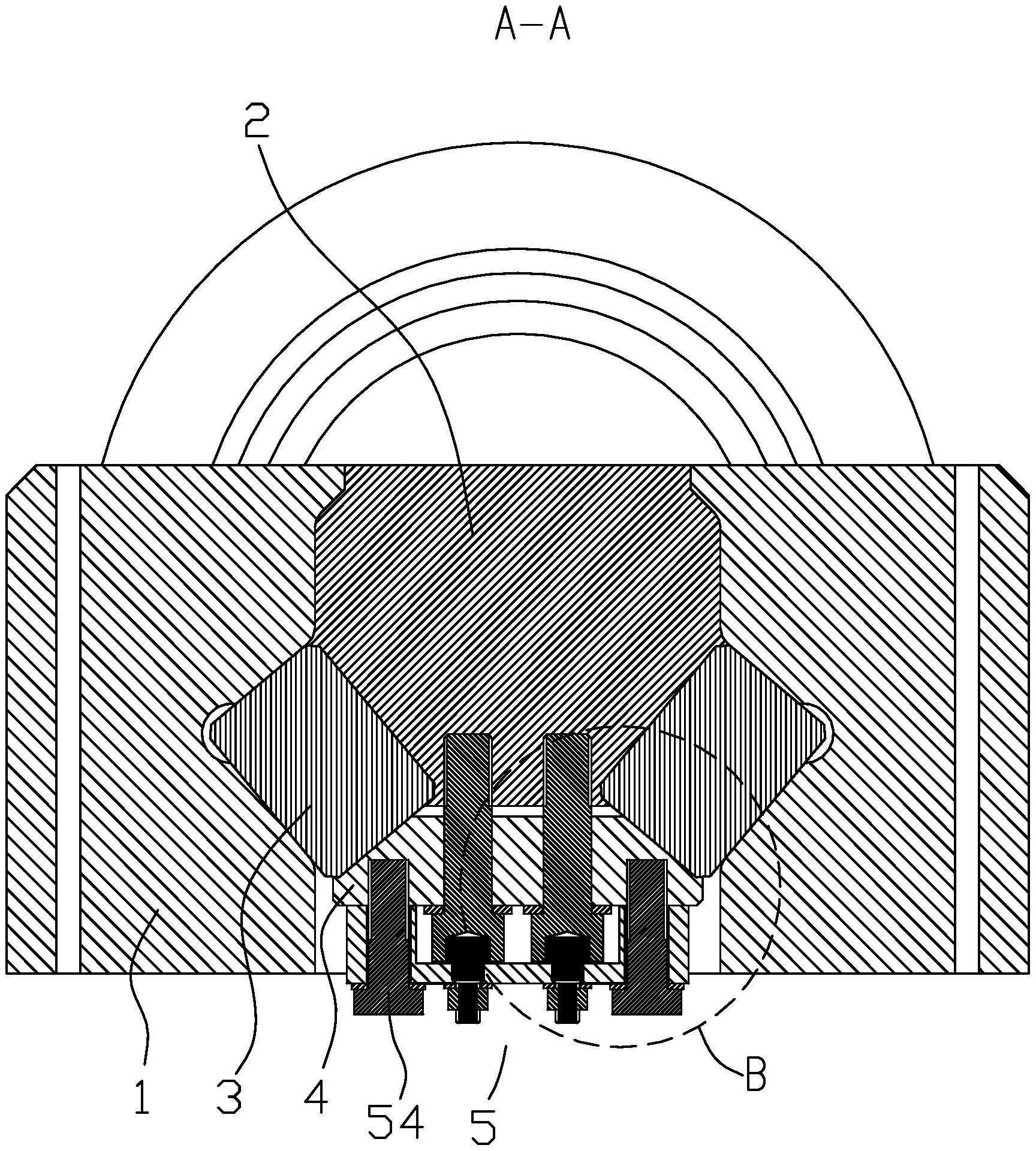
摘要
本实用新型公开了一种端盖式滚刀防松装置,包括刀箱、滚刀、楔形块、压块以及压块锁紧机构;楔形块内置于楔块槽内且抵持于滚刀以使滚刀固定于收容腔内;压块与楔形块及滚刀均抵接;压块锁紧机构包括锁紧螺钉、限位块及限位螺栓,锁紧螺钉穿过压块后与滚刀螺纹连接,锁紧螺钉的大头端开设有限位槽,限位块与压块固定连接,限位螺栓与限位块固定连接,限位螺栓的一端内置于限位槽内以限制锁紧螺钉转动。本实用新型的有益效果是:通过在锁紧螺钉的大头端开设限位槽,并在压块上固定连接一限位块,在限位块上固定一限位螺栓,限位螺栓的一端内置于所述限位槽内,从而可防止锁紧螺钉发生转动,锁紧螺钉不易松动,提高了盾构滚刀的使用寿命。


