授权公布号:CN218470521U
一种酒瓶回收检测装置
有效
申请
2022-09-01
申请公布
1970-01-01
授权
2023-02-10
预估到期
2032-09-01
| 申请号 | CN202222316819.1 |
| 申请日 | 2022-09-01 |
| 授权公布号 | CN218470521U |
| 授权公告日 | 2023-02-10 |
| 分类号 | G01N21/01;G01N21/95;G01N21/956;G01G19/52;G06K7/10;G06V10/70;G06N3/04;G06M11/00 |
| 分类 | 测量;测试; |
| 申请人名称 | 上海天臣微纳米科技股份有限公司 |
| 申请人地址 | 上海市松江区莘砖公路118号1幢101室 |
专利法律状态
2023-02-10
授权
状态信息
授权
摘要
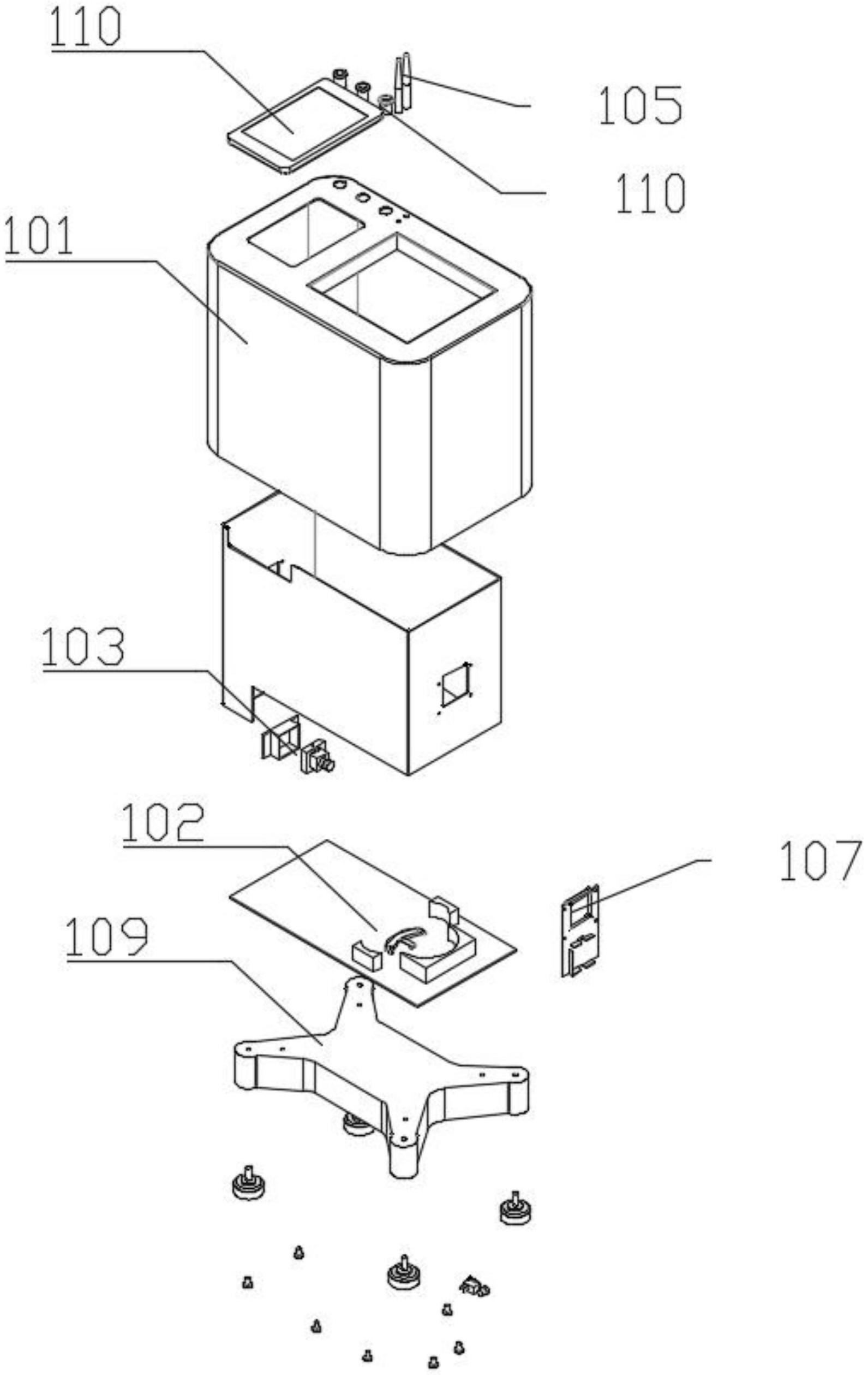
本实用新型公开了一种酒瓶回收检测装置,装置包括:箱体;至少一个容纳组件,位于箱体内部,用于容置且固定酒瓶,箱体设置有开口,用于露出容纳组件;特征信息采集组件,位于箱体内部,特征信息采集端用于采集酒瓶的特征信息,特征信息输出端用于输出酒瓶的特征信息;通信组件;控制器,特征信息第一接收端与特征信息输出端连接,特征信息第一发送端与第一通信模块连接;服务器,特征信息第二接收端与第二通信模块连接,服务器用于生成检测结果,检测结果输出端用于输出检测结果;控制器还包括检测结果接收端,检测结果接收端与检测结果输出端通信连接。由此,整个过程无需人工依次获取酒瓶的特征信息,大大提升了检测效率。


