授权公布号:CN219905341U
卡扣连接结构及包装盒
有效
申请
2023-03-17
申请公布
1970-01-01
授权
2023-10-27
预估到期
2033-03-17
| 申请号 | CN202320525860.1 |
| 申请日 | 2023-03-17 |
| 授权公布号 | CN219905341U |
| 授权公告日 | 2023-10-27 |
| 分类号 | B65D43/22 |
| 分类 | 输送;包装;贮存;搬运薄的或细丝状材料; |
| 申请人名称 | 上海天臣微纳米科技股份有限公司 |
| 申请人地址 | 上海市松江区莘砖公路118号1幢101室 |
专利法律状态
2023-10-27
授权
状态信息
授权
摘要
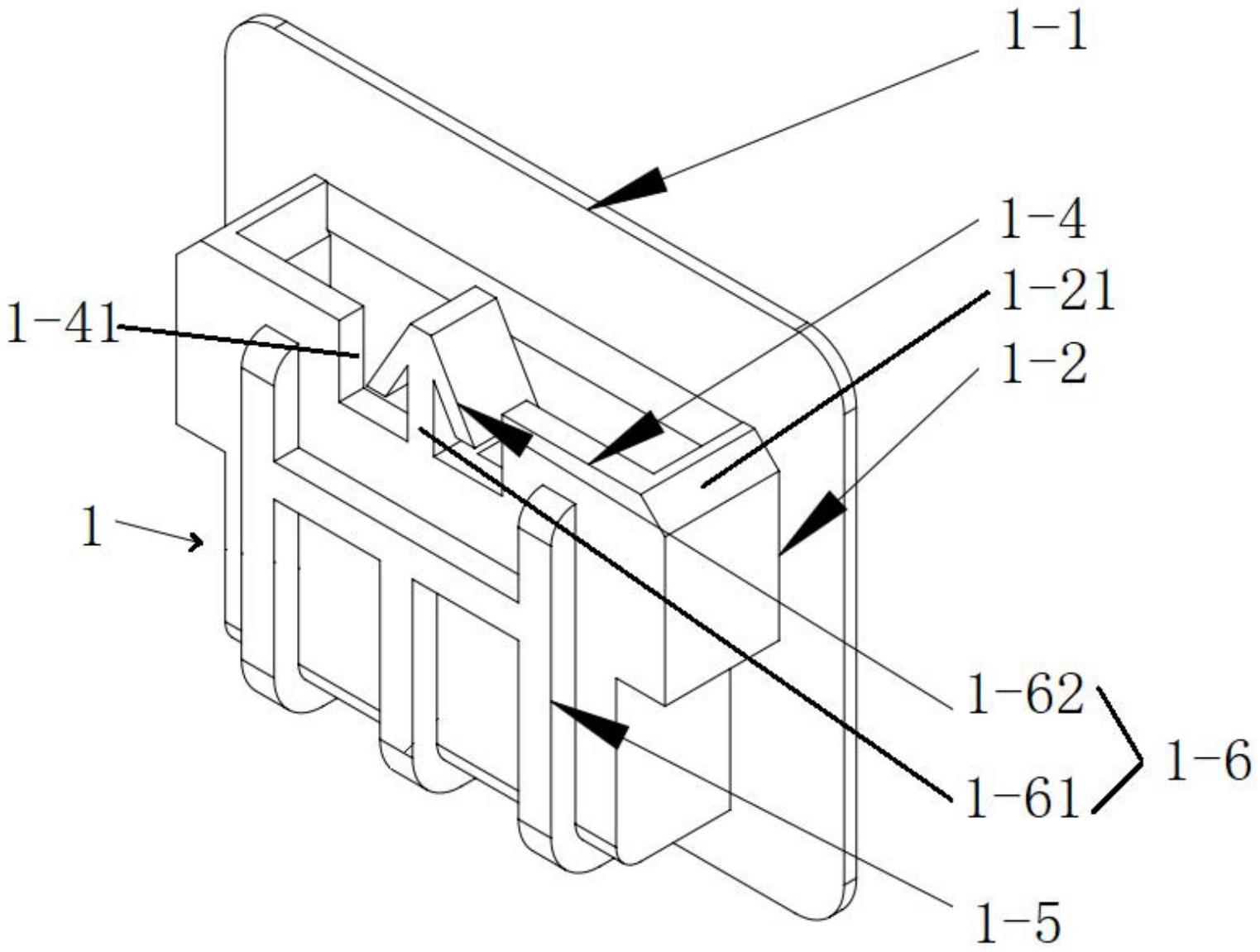
本实用新型提出了一种卡扣连接结构及包装盒,该卡扣连接结构主要是由用于设置于待封装的盒体的第一部件上的卡扣本体、用于设置于盒体的第二部件上的卡合件等构成。其中,卡合件上开设有锁附槽,并且卡扣本体主要是由固定部、以及与固定部相连且围合形成卡槽的围合部,以及设置于围合部上的弹性扣体等构成。当盒体的第二部件插入卡槽内,弹性扣体挤压锁附槽的相对两侧壁并产生收缩形变,并在第二部件到达锁附位置时,恢复至初始状态后,与第二部件上的卡接部相卡接入。与现有技术相比,本申请提供的卡扣连接结构及包装盒,可以有效避免盒体在被封装后,盒体在无损的情况下,卡扣连接结构失效,以致于盒体出现被拆封的情形。


