授权公布号:CN212735164U
一种高强度的五轴联动数控机床用切削头
有效
申请
2020-08-27
申请公布
1970-01-01
授权
2021-03-19
预估到期
2030-08-27
| 申请号 | CN202021830082.X |
| 申请日 | 2020-08-27 |
| 授权公布号 | CN212735164U |
| 授权公告日 | 2021-03-19 |
| 分类号 | B23Q5/32;B23D79/00 |
| 分类 | 机床;不包含在其他类目中的金属加工; |
| 申请人名称 | 宁波迈拓斯数控机械有限公司 |
| 申请人地址 | 浙江省宁波市宁海县力洋镇宁波南部滨海新区 |
专利法律状态
2021-03-19
授权
状态信息
授权
摘要
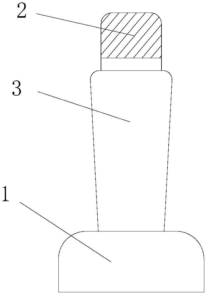
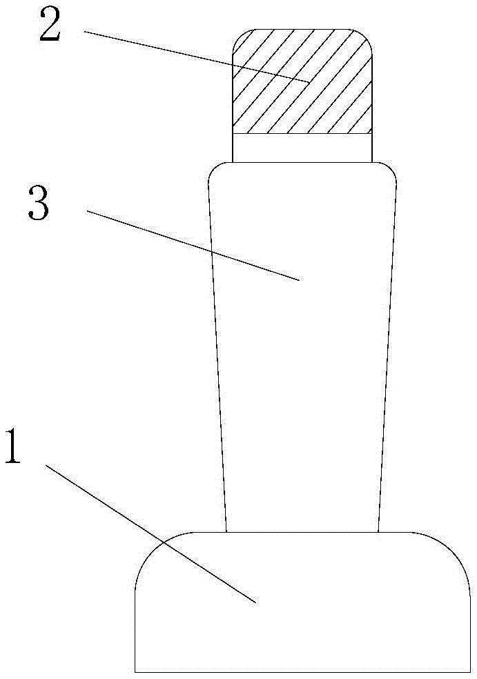
本实用新型公开了一种高强度的五轴联动数控机床用切削头,包括转杆,所述转杆包括强化层、基层、第一功能层和弹簧钢层,所述第一功能层包括金属钛合金层、碳化硅陶瓷层和金属锌层。本实用新型通过螺纹接头与五轴联动数控机床连接进行工作,通过螺纹接头带动转杆使得切削头本体工作,通过强化层的设置,具有抗腐蚀性和热稳定性和较高的硬度,通过基层的设置,锰具有脱氧、脱硫及调节作用,还能增加钢材的强度、韧性、可淬性,在钢铁以及不锈钢制造过程中的应用非常广泛,解决了现有的切削头在使用过程中由于硬度低,导致进行切削工作时发生停顿卡住,导致切削头断裂,无法进行正常切削工作的问题。


