授权公布号:CN213163749U
制造药芯焊丝用加粉装置
有效
申请
2020-07-06
申请公布
1970-01-01
授权
2021-05-11
预估到期
2030-07-06
| 申请号 | CN202021308697.6 |
| 申请日 | 2020-07-06 |
| 授权公布号 | CN213163749U |
| 授权公告日 | 2021-05-11 |
| 分类号 | B23K35/40;B23K37/00 |
| 分类 | 机床;不包含在其他类目中的金属加工; |
| 申请人名称 | 江苏中江焊丝有限公司 |
| 申请人地址 | 江苏省常州市新北区春江镇百丈 |
专利法律状态
2021-05-11
授权
状态信息
授权
摘要
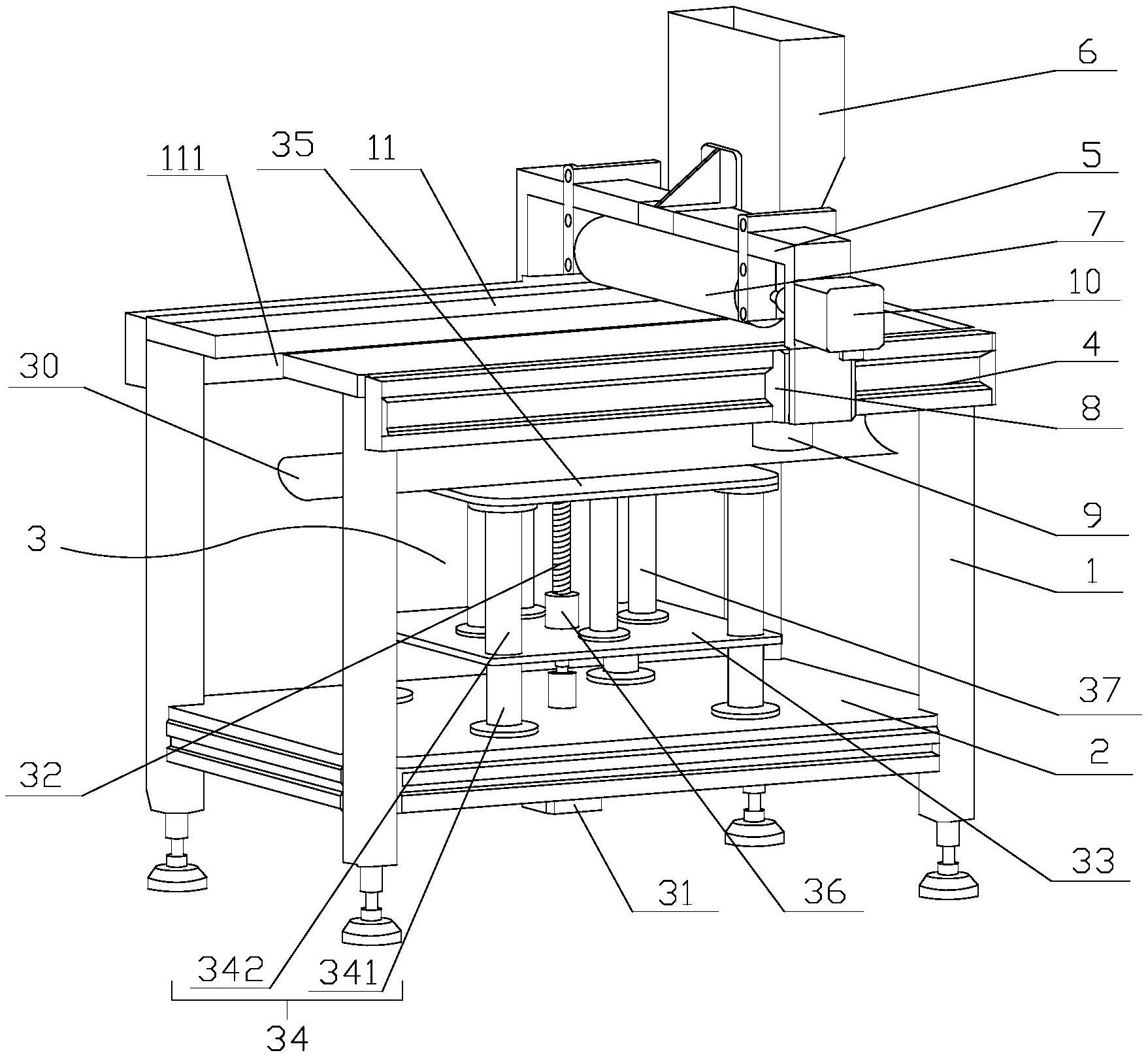
本实用新型涉及一种制造药芯焊丝用加粉装置,包括支架,所述支架的下部设有支撑板,所述支撑板上设置有升降机构,升降机构的顶部设置有支撑U型管的承载件,支架顶部设有顶板,所述顶板上开设有落粉槽,顶板两侧均设置有导轨,所述导轨上设有沿其来回移动的门型架,所述门型架顶部安装有储粉斗,储粉斗下方的门型架上活动连接有抹平辊,门型架侧壁上设有驱动抹平辊转动的驱动件。本实用新型将现有技术的加粉筒设置成可移动的,并通过升降机构实现U型管的升降,使得U型管被传输至本装置时被提升后静止,由储料斗对其进行加粉,并同时抹平,保证药粉量达到需求值。


